Счётчики-расходомеры массовые Turbo Flow CFM
| Номер в ГРСИ РФ: | 83374-21 |
|---|---|
| Категория: | Расходомеры |
| Производитель / заявитель: | ООО НПО "Турбулентность-Дон", с.Чалтырь |
Счётчики-расходомеры массовые Turbo Flow CFM (далее - расходомеры) предназначены для измерений массового расхода и массы, температуры и давления жидкости и газов, а также объёмного расхода, объёма и плотности жидкости, в том числе сероводорода, кислот и других агрессивных сред.
Информация по Госреестру
| Основные данные | |||||||||||||
|---|---|---|---|---|---|---|---|---|---|---|---|---|---|
| Номер по Госреестру | 83374-21 | ||||||||||||
| Действует | по 11.10.2026 | ||||||||||||
| Наименование | Счётчики-расходомеры массовые | ||||||||||||
| Модель | Turbo Flow CFM | ||||||||||||
| Модификации |
На испытания представлены: Turbo Flow CFМ Ду25 Turbo Flow CFМ Ду100 |
||||||||||||
| Приказы |
№285 от
19.02.2026
— О внесении изменений в сведения об утвержденных типах средств измерений
|
||||||||||||
| Код идентификации производства |
ОС
СИ не соответствует критериям подтверждения производства на территории
РФ в соответствии с постановлением №719
|
||||||||||||
| Характер производства | Серийное | ||||||||||||
| Идентификатор записи ФИФ ОЕИ | b7eb83b8-6851-101f-832e-8e771190c927 | ||||||||||||
| Испытания |
|
||||||||||||
Производитель / Заявитель
ООО НПО «Турбулентность-ДОН», РОССИЯ, 346815, Ростовская обл., Мясниковский м.р-н, Краснокрымское с.п., автодорога Ростов-на-Дону – Новошахтинск тер., 1-й км, зд. 6/8
РОССИЯ
Поверка
| Методика поверки / информация о поверке |
МП 208-029-2021 Государственная система обеспечения единства измерений. Счётчики-расходомеры массовые TURBO FLOW CFM. Методика поверки
МП 208-082-2024 Государственная система обеспечения единства измерений. Счётчики-расходомеры массовые Turbo Flow CFМ. Методика поверки. Для вновь изготавливаемых средств измерений в дополнение к МП 208-029-2021
(с 19.02.2026)
|
| Межповерочный интервал / Периодичность поверки |
4 года
|
| Зарегистрировано поверок | |
| Найдено поверителей | |
| Успешных поверок (СИ пригодно) | 46 (100%) |
| Неуспешных поверок (СИ непригодно) | 0 (0 %) |
| Актуальность информации | 19.04.2026 |
Поверители
Скачать
|
83374-21: Описание типа
2024-83374-21-1.pdf
|
Скачать | 573.3 КБ | |
|
83374-21: Методика поверки
2021-mp83374-21.pdf
Файл устарел
|
Скачать | 1.1 MБ | |
|
83374-21: Описание типа
2026-83374-21.pdf
|
Скачать | 873.5 КБ | |
|
83374-21: Методика поверки
МП 208-029-2021
2021-mp83374-21-1.pdf
|
Скачать | 1.1 MБ | |
|
83374-21: Методика поверки
МП 208-082-2024
2026-mp83374-21.pdf
|
Скачать | 5.3 MБ |
Описание типа
Назначение
Счётчики-расходомеры массовые Turbo Flow CFM (далее - расходомеры) предназначены для измерений массового расхода и массы, температуры и давления жидкости и газов, а также объёмного расхода, объёма и плотности жидкости, в том числе сероводорода, кислот и других агрессивных сред.
Описание
Принцип действия расходомеров основан на использовании сил Кориолиса, действующих на измерительные трубки, которые колеблются с частотой вынуждающей силы, создаваемой катушкой индуктивности при пропускании через неё электрического тока заданной частоты.
Силы Кориолиса, приложенные к двум половинам вибрирующей части трубки, тормозят движение первой по потоку половины и ускоряют движение второй. Возникающая вследствие этого разность фаз колебаний двух половин трубки, пропорциональная массовому расходу, регистрируется индуктивными датчиками. Расходомеры не имеют вращающихся частей и результаты измерений массового расхода не зависят от плотности, вязкости, наличия твердых частиц или иных примесей, режимов протекания измеряемой среды.
Колебания трубок возбуждаются на основной резонансной частоте системы. Функциональная зависимость резонансной частоты от плотности среды калибруется при изготовлении прибора. На основе данных калибровки, хранимых в энергонезависимой памяти прибора, измеряемый в процессе работы период колебаний пересчитывается в значение плотности рабочей среды.
Для измерений температуры проходящей через расходомер измеряемой среды используется встроенный (интегрированный) преобразователь температуры. Опционально для повышения точности измерений температуры используется внешний преобразователь температуры. Показания расходомера при отклонении температуры и давления измеряемой среды от условий калибровки компенсируются автоматически.
Объёмный расход жидкости вычисляется по измеренным значениям массового расхода и плотности. Расходомеры состоят из:
- первичного преобразователя расхода (далее - ПП) с интегрированным преобразователем температуры;
- электронного блока (далее - ЭБ);
- внешнего преобразователя (датчика) давления (опционально);
- внешнего преобразователя (датчика) температуры (опционально);
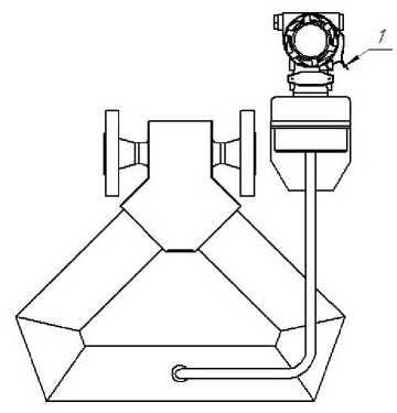
Расходомеры имеют исполнения, представленные на рисунке 1, которые отличаются конструкцией ПП.
ПП устанавливается в трубопровод и преобразует параметры процесса (расход, плотность, температура) в электрические сигналы, которые поступают в ЭБ.
ЭБ состоит из измерительного модуля (далее - ИМ) и вычислителя расхода (далее - ВР), который установлен на ПП или удаленно от ПП.
ИМ производит преобразование, аппаратную обработку (усиление и нормирование) сигналов с первичного преобразователя и интегрированного в ПП преобразователя температуры, а также аналого-цифровое преобразование сигналов и их фильтрацию.
ВР производит обработку измеренных параметров с ИМ, выполняет вычисления, выдаёт результат на индикатор (при наличии), ведёт архивы, формирует частотные, импульсные, дискретные, токовые (от 4 до 20 мА), цифровые выходные сигналы.
Наличие индикатора и выходные интерфейсы варьируются в зависимости от исполнения ЭБ. Компоненты ЭБ конструктивно могут быть выполнены в различных сочетаниях или выполнены отдельными модулями. Модули соединяются специальными кабелями, которые входят в комплектацию расходомера.
Информация с расходомера считывается с помощью специализированного программного обеспечения по проводным или беспроводным интерфейсам на ПК, также имеется интерфейс для передачи информации в другие информационные системы управления или учета ресурсов.
Кроме того, ЭБ обрабатывает управляющие сигналы, которые поступают на дискретные входы, и обеспечивает связь с внешними ведущими устройствами по протоколам Modbus RTU, Namur или HART.
Для возможности дистанционного (локального) считывания информации расходомер может быть укомплектован выносным терминалом (далее - ВТ или ВТ(М)) или шкафом с промышленным компьютером (РШ с ПК) или организована прямая передача данных на персональный компьютер со специализированным программным обеспечением (АРМ). ВТ может быть выполнен в пластиковом (ВТ) или металлическом (ВТ(М)) корпусе. Общий вид ВТ, ВТ(М) и РШ с ПК представлены на рисунке 3.
В расходомерах реализована функция расчёта концентрации (объёмной доли) взаимнонерастворимых компонентов многофазной среды (газожидкостной смеси), основанная на измерении средней плотности и информации о плотности чистых компонентов.
Расходомеры изготавливаются по заказу в любой цветовой гамме.
Знак утверждения типа наносится на маркировочную табличку, закрепленную на корпусе ЭБ, методом аппликации или лазерной гравировки. Заводской номер, состоящий из семи арабских цифр, наносится на маркировочную табличку, закрепленную на корпусе ЭБ. Формат и место нанесения заводского номера и знака утверждения типа представлены на рисунке 9.
Ограничение доступа к местам настройки (регулировки), расположенным в ЭБ, осуществляется путем нанесения свинцовых или мастичных пломб с изображением знака поверки на винтах крепления крышки ЭБ. Схема пломбировки от несанкционированного доступа, обозначение мест нанесения знаков поверки представлены на рисунках 4 - 8.
Общий вид счётчиков-расходомеров массовых Turbo Flow CFМ представлен на рисунке 1. Общий вид ЭБ, РШ с ПК, ВТ и ВТ(М) представлен на рисунках 2 и 3.
Рисунок 1 - Общий вид расходомеров
Рисунок 2 - Общий вид ЭБ
Рисунок 3 - Общий вид РШ с ПК, ВТ и ВТ(М)
а) вид сбоку
а) вид сбоку
б) вид сверху
Рисунок 6 - Пломбировка ПП и ЭБ (ЭБ вынесен от ПП)
Рисунок 4 - Электронный блок
б) вид сверху
Рисунок 5 - Пломбировка ПП и ЭБ (расположение ЭБ на ПП)
Рисунок 7 - Выносной терминал (ВТ)
Рисунок 8 - Выносной терминал в металлическом корпусе (ВТМ)
1 - пломба свинцовая предприятия-изготовителя;
2 - места для нанесения знака поверки способом давления на специальную мастику;
3 - пломбы предприятия-изготовителя способом давления на специальную мастику;
4 - отверстия для пломбирования эксплуатирующими организациями.
Рисунок 9 - Общий вид маркировочной таблички счётчиков-расходомеров массовых Turbo Flow CFM
Программное обеспечение
Программное обеспечение (далее - ПО) расходомера по аппаратному обеспечению является встроенным. Преобразование измеряемых величин и обработка измерительных данных выполняется с использованием внутренних аппаратных и программных средств. ПО хранится в энергонезависимой памяти.
Таблица 1 - Идентификационные данные программного обеспечения
|
Идентификационные данные (признаки) |
Значение |
|
Идентификационное наименование ПО |
CFM |
|
Номер версии (идентификационный номер) ПО |
не ниже 1.0 |
|
Цифровой идентификатор ПО |
0x66808DB2 |
|
Алгоритм вычисления цифрового идентификатора программного обеспечения |
CRC-32 |
Метрологические характеристики расходомеров нормированы с учетом влияния программного обеспечения.
Программное обеспечение разделено на:
- метрологически значимую часть;
- метрологически незначимую часть.
Разделение программного обеспечения выполнено внутри кода ПО на уровне языка программирования. К метрологически значимой части ПО относятся:
- программные модули, принимающие участие в обработке (расчетах) результатов измерений или влияющие на них;
- программные модули, осуществляющие отображение измерительной информации, ее хранение, передачу, идентификацию, защиту ПО и данных;
- параметры, участвующие в вычислениях и влияющие на результат измерений;
- компоненты защищенного интерфейса для обмена данными с внешними устройствами.
Недопустимое влияние на метрологически значимую часть ПО расходомера через интерфейс связи отсутствует. ПО расходомера не оказывает влияния на метрологические характеристики других средств измерений.
В ЭБ дополнительно реализована защита от внешних изменений с помощью переключателя.
Уровень защиты ПО от преднамеренных и непреднамеренных изменений - «высокий» в соответствии с Р 50.2.077-2014. Примененные специальные средства защиты в достаточной мере исключают возможность несанкционированной модификации, обновления (загрузки), удаления и иных преднамеренных изменений метрологически значимой части ПО и измеренных (вычисленных) данных.
Технические характеристики
Таблица 2 - Метрологические характеристики
|
Наименование характеристики |
Значение |
|
Диаметр условный Ду, мм |
от 1 до 350 |
|
Верхняя граница диапазона измерений массового расхода жидкости Qmmax(f) 1), в зависимости от Ду и исполнения ПП, кг/ч |
от 19,8 до 4350000 |
|
Верхняя граница диапазона измерений объёмного расхода жидкости (по воде при температуре 20 °С и абсолютном давлении 0,1 МПа) Qvmax(f) в зависимости от Ду и исполнения ПП, м3/ч |
от 0,02 до 2722 |
|
Верхняя граница диапазона измерений массового расхода газа Qmmax(G), кг/ч |
QMmax(F) ’ Pg / kG , где pg- плотность газа при рабочих условиях, кг/м3; kG 1)- коэффициент, зависящий от Ду, кг/м3 |
|
Стабильность нуля при измерении массового расхода (в зависимости от Ду) Z1), кг/ч |
от 0,005 до 350 |
|
Класс точности (КТ) |
0,1; 0,15; 0,2; 0,25; 0,5 |
|
Наименование характеристики |
Значение | |||
|
Пределы допускаемой относительной погрешности при измерении массового расхода &Qм и массы жидкости, д м, %: при Qm > 100\Z/до при Qm < 100^Z/до |
± д о ±(Z/ Qm >100, где Qm - измеряемый массовый расход, кг/ч; д о - значение, численно равное КТ при проведении поверки проливным методом или (КТ+0,2) при проведении поверки имитационным методом, %; Z1) - стабильность нуля, кг/ч | |||
|
Пределы допускаемой относительной погрешности при измерении массового расхода и массы газа, %: при Qm > (100 • Z / dG) при Qm < (100 • Z / dG) |
± дG ±(Z/Qm )-100 где значение дG равно: | |||
|
Ду, мм |
Класс точности | |||
|
0,1; 0,15 |
0,2 |
0,5 | ||
|
от 1 до 32 |
0,35 (0,55)3) |
- |
- | |
|
от 50 до 200 |
0,5 (0,75)3) |
- |
- | |
|
от 1 до 200 |
- |
0,5 (0,75)3) |
- | |
|
от 1 до 350 |
- |
- |
0,75 (0,95)3) | |
|
Диапазон измерений плотности рабочей среды, кг/м3 1) |
от 650 до 2000 | |||
|
Диапазон показаний плотности рабочей среды, кг/м3 1) |
от 1,2 до 3000 | |||
|
Пределы допускаемой основной абсолютной погрешности при измерении плотности рабочей среды Ар, кг/м3 |
±0,32); ±0,52); ±1; ±2; ±5; ±103) | |||
|
Пределы допускаемой дополнительной абсолютной погрешности при измерении плотности в условиях эксплуатации (при температуре окружающего воздуха за пределами диапазона от +15 до +25 °C) Ар, кг/м3: - для расходомеров с пределами допускаемой основной абсолютной погрешности ±0,3 и ±0,5 кг/м3 - для остальных |
±0,3 ±2 | |||
|
Наименование характеристики |
Значение | |||
|
Пределы допускаемой основной относительной погрешности при измерении объёмного расхода 6 Qv и объёма 6v жидкости, %: - для класса точности 0,1 и Ар = ±1 кг/м3 - для других сочетаний классов точности и Ар и при измерении объёмного расхода и объёма газа |
3Qv = ±^ SV = ± где р - изм |
±0,15 (8Qm )2 + |
— ■ 100 < Р |
^ 2 ) , , кг/м3 |
|
. Г (M )2 + \ еряемая п |
л л -Р ■ 100 Р ) лотность, | |||
|
Диапазон измерений температуры рабочей среды, °С 1) |
от -200 до +400 | |||
|
Пределы допускаемой абсолютной погрешности при измерении температуры рабочей среды при использовании: - интегрированного в ПП преобразователя температуры, °С - внешнего преобразователя (датчика) температуры, °С |
±(0,3 + 0,005-М) , ±(0,15 + 0,002-iti), где t - измеряемое значение температуры, °C | |||
|
Верхний предел измерений избыточного давления (ВПИ), МПа 1) |
от 0,0025 до 105 | |||
|
Верхний предел измерений абсолютного давления (ВПИ), МПа 1) |
от 0,1 до 106 | |||
|
Пределы допускаемой относительной погрешности измерений давления, при использовании внешнего преобразователя (датчика) давления, % |
±(0,1+0,01Pmax/P), где Pmax -верхний предел измерений преобразователя давления, P - измеряемое значение давления | |||
|
Рабочий диапазон измерений давления, % ВПИ |
от 10 до 100 | |||
|
Пределы допускаемой дополнительной абсолютной погрешности при измерении плотности, в зависимости от исполнения ПП, вызываемой изменением: - давления измеряемой среды на 1 МПа, кг/м3 - температуры измеряемой среды на 10 °C, кг/м3 от условий калибровки. |
от ±0,03 до ±0,45 от ±0,3 до ±2,0 | |||
|
Потери давления на ПП расходомера при максимальном расходе воды Qmmax, МПа, не более |
0,1 | |||
|
1) Значения Z, kc, QMmax(F) для каждого диаметра и исполнения ПП, а также диапазоны измерений и показаний плотности, диапазон измерений температуры и ВПИ давления для конкретного экземпляра расходомера приведены в эксплуатационных документах. 2) По специальному заказу в диапазоне плотности рабочей среды от 650 до 1300 кг/м3. 3) При имитационном методе проведения поверки | ||||
Таблица 3 - Основные технические характеристики
|
Наименование характеристики |
Значение |
|
Диапазон выходных сигналов: - частотный, Гц - токовый, мА - дискретный |
от 0 до 10000 от 4 до 20 оптронный, с открытым коллектором |
|
Цифровые проводные интерфейсы |
HART, MODBUS RTU, Namur |
|
Цифровые беспроводные интерфейсы |
GSM, GPRS, Bluetooth, IrDA (ИК-порт), Zig Bee, M2M 433/868 МГц, NB-IOT, NB-Fi, LoRa |
|
Напряжение питания, В: - расходомера от сети постоянного тока - расходомера от сети переменного тока - ВТ от сети переменного тока - ВТ от АКБ или автономного источника постоянного тока |
от 12 до 14; от 24 до 30 от 187 до 242 от 187 до 242 от 12 до 14; от 24 до 30 |
|
Потребляемая мощность, Вт, не более |
10 |
|
Масса (в зависимости от диаметра), кг, не более |
700 |
|
Габаритные размеры ПП, мм, не более: - длина - ширина - высота |
2500 900 2350 |
|
Маркировка взрывозащиты: - первичный преобразователь (ПП) - электронный блок (ЭБ) |
0Ex 1а IIC Т4...Т1 Ga Х 1Ex db [1а Ga] IIC Т6 Gb Х |
|
Степень защиты по ГОСТ 14254-2015: - первичный преобразователь (ПП) - электронного блока (ЭБ) |
IP67 IP65 |
|
Условия эксплуатации: - температура окружающего воздуха (для электронного блока), °С - относительная влажность воздуха, % - атмосферное давление, кПа |
от -60 до +70 до 95 от 84,0 до 106,7 |
Таблица 4 - Показатели надежности
|
Наименование характеристики |
Значение |
|
Наработка на отказ, ч, не менее |
70000 |
|
Средний срок службы, лет, не менее |
12 |
Знак утверждения типа
наносится на маркировочную табличку, закрепленную на корпусе ЭБ, методом аппликации или лазерной гравировки и на титульные листы руководства по эксплуатации и паспорта типографским способом.
Комплектность
Таблица 5 - Комплектность средства измерений
|
Наименование |
Обозначение |
Количество, шт. (компл.) |
|
Счётчик-расходомер массовый |
Turbo Flow CFM |
1 |
|
Счётчики-расходомеры массовые Turbo Flow CFM. Руководство по эксплуатации1) |
ТУАС.407281.001 РЭ |
1 |
|
Паспорт |
ТУАС.407281.001 ПС |
1 |
|
Комплект монтажных частей |
- |
1 (по заказу) |
|
ПО ПК конфигурирования расходомера (компакт-диск или Flash-накопитель)1) |
- |
1 (по заказу) |
|
Система кабельных соединений |
- |
1 (по заказу) |
|
1) Доступно на сайте изготовителя | ||
Сведения о методах измерений
приведены в разделе 2 ТУАС.407281.001 РЭ.
Нормативные документы
Приказ Федерального агентства по техническому регулированию и метрологии от 26 сентября 2022 г. № 2356 «Об утверждении Государственной поверочной схемы для средств измерений массы и объема жидкости в потоке, объема жидкости и вместимости при статических измерениях, массового и объемного расходов жидкости»
Приказ Федерального агентства по техническому регулированию и метрологии от 11 мая 2022 г. № 1133 «Об утверждении государственной поверочной схемы для средств измерений объемного и массового расходов газа»
Приказ Федерального агентства по техническому регулированию и метрологии от 01 ноября 2019 г. № 2603 «Об утверждении Государственной поверочной схемы для средств измерений плотности»
Приказ Федерального агентства по техническому регулированию и метрологии от 23 декабря 2022 г. № 3253 «Об утверждении Государственной поверочной схемы для средств измерений температуры»
ТУ 26.51.52-031-70670506-2020 Технические условия. Счётчики-расходомеры массовые Turbo Flow CFM




