Угольники поверочные 90°
| Номер в ГРСИ РФ: | 94466-25 |
|---|---|
| Категория: | Угольники |
| Производитель / заявитель: | ИП Бородин Евгений Иванович, г. Челябинск |
Угольники поверочные 90° (далее - угольники) предназначены для измерений плоских прямых углов контактным методом.
Информация по Госреестру
| Основные данные | |
|---|---|
| Номер по Госреестру | 94466-25 |
| Действует | по 29.01.2030 |
| Наименование | Угольники поверочные 90° |
| Характер производства | Серийное |
| Идентификатор записи ФИФ ОЕИ | eae8dd4a-fe75-7de8-98a9-0424707aa43d |
Производитель / Заявитель
Индивидуальный предприниматель Бородин Евгений Иванович (ИП Бородин Е.И.), г. Челябинск
Поверка
| Межповерочный интервал / Периодичность поверки |
1 год
|
| Зарегистрировано поверок | |
| Найдено поверителей | |
| Успешных поверок (СИ пригодно) | 75 (100%) |
| Неуспешных поверок (СИ непригодно) | 0 (0 %) |
| Актуальность информации | 26.04.2026 |
Поверители
Скачать
|
94466-25: Описание типа
2025-94466-25.pdf
|
Скачать | 434.7 КБ | |
|
94466-25: Методика поверки
2025-mp94466-25.pdf
|
Скачать | 3.6 MБ |
Описание типа
Назначение
Угольники поверочные 90° (далее - угольники) предназначены для измерений плоских прямых углов контактным методом.
Описание
Принцип действия угольников основан на сравнении просвета между измерительными поверхностями угольника и контролируемым взаимно-перпендикулярным расположением плоскостей деталей или каких-либо поверхностей с «образцом просвета», составленного из концевых мер длины, притертых к плоской стеклянной пластине.
Угольники представляют собой стальные изделия с термической и механической обработкой.
Угольники выпускаются в следующих модификациях:
- УЛ - лекальные;
- УЛП - лекальные плоские;
- УЛЦ - лекальные цилиндрические;
- УП - слесарные плоские;
- УШ - слесарные с широким основанием.
Каждая модификация угольников имеет ряд исполнений, которые отличаются друг от друга размерами и классами точности.
Пример условного обозначения плоского лекального угольника класса точности 0, с H = 160 мм:
Угольник УЛП-0-160 ГОСТ 3749-77
Угломеры выпускаются под товарным знаком
Заводские номера в виде цифровых обозначений, обеспечивающие идентификацию каждого экземпляра средств измерений, наносятся на угольники методом лазерной гравировки или наклейки. Первые две цифры заводского номера обозначают год выпуска угольника.
Нанесение знака поверки на угольники не предусмотрено.
Общий вид угольников, обозначение основных размеров и поверхностей представлены на рисунках 1, 2, 3, 4 и 5.
Пломбирование угольников не предусмотрено.
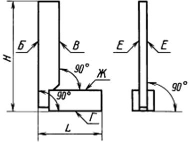
Б, В - измерительные поверхности; Г, Ж - опорные поверхности
Место нанесения заводского номера
Место нанесения знака утверждения типа
Рисунок 1- Общий вид угольников УЛ, обозначение основных размеров и поверхностей
Б, В - измерительные поверхности; Г, Ж - опорные поверхности; Е - боковые поверхности
Р и с у н о к 2 - Общий вид угольников УЛП, обозначение основных размеров и поверхностей
Место нанесения знака утверждения типа
Место нанесения заводского номера
Б - измерительная поверхность; Г - опорные поверхности
Р и с у н о к 3 - Общий вид угольников УЛЦ, обозначение основных размеров и поверхностей
Место нанесения знака утверждения типа
Место нанесения заводского номера
Б, В - измерительные поверхности; Г, Ж - опорные поверхности; Е - боковые поверхности
Рисунок 4 - Общий вид угольников УП, обозначение основных размеров и поверхностей
Место нанесения знака утверждения типа
Место нанесения заводского номера
Б, В - измерительные поверхности; Г, Ж - опорные поверхности; Е - боковые поверхности
Р и с у н о к 5 - Общий вид угольников УШ, обозначение основных размеров и поверхностей
Технические характеристики
Таблица 1 - Классы точности
|
Модификация |
Н, мм |
Класс точности |
|
УЛ |
60; 100;160 |
0; 1 |
|
УЛП |
60; 100; 160;250 |
0 |
|
УЛЦ |
160;250;400;630 |
0 |
|
УП |
60; 100; 160; 250; 400 |
1, 2 |
|
УШ |
60; 100; 160; 250; 400;630 |
0; 1; 2 |
|
1000 |
1; 2 | |
|
1600 |
2 |
Таблица 2 - Основные размеры, классы точности и допуски перпендикулярности измерительных поверхностей Б и В к опорным поверхностям Г и Ж на длине H
(для модификаций УЛ - на длине Н и L) угольников
|
Модификация |
Н, мм |
L, мм (D, мм) |
Допуск перпендикулярности измерительных поверхностей Б и В к опорным поверхностям Г и Ж, мкм | ||
|
класс точности | |||||
|
0 |
1 |
2 | |||
|
УЛ |
60 |
40 |
2,5 |
5,0 |
_ |
|
100 |
60 |
3,0 |
6,0 |
_ | |
|
160 |
100 |
3,5 |
7,0 |
_ | |
|
УЛП |
60 |
40 |
2,5 |
_ |
_ |
|
100 |
60 |
3,0 |
_ |
_ | |
|
160 |
100 |
3,5 |
_ |
_ | |
|
250 |
160 |
4,5 |
_ |
_ | |
|
УЛЦ |
160 |
(80) |
3,5 |
_ |
_ |
|
250 |
(100) |
4,5 |
_ |
_ | |
|
400 |
(125) |
6,0 |
_ |
_ | |
|
630 |
(160) |
8,0 |
_ |
_ | |
|
УП |
60 |
40 |
_ |
5,0 |
13,0 |
|
100 |
60 |
_ |
6,0 |
15,0 | |
|
160 |
100 |
_ |
7,0 |
18,0 | |
|
250 |
160 |
_ |
9,0 |
22,0 | |
|
400 |
250 |
_ |
12,0 |
30,0 | |
|
УШ |
60 |
40 |
2,5 |
5,0 |
13,0 |
|
100 |
60 |
3,0 |
6,0 |
15,0 | |
|
160 |
100 |
3,5 |
7,0 |
18,0 | |
|
250 |
160 |
4,5 |
9,0 |
22,0 | |
|
400 |
250 |
6,0 |
12,0 |
30,0 | |
|
630 |
400 |
8,0 |
16,0 |
40,0 | |
|
1000 |
630 |
_ |
20,0 |
40,0 | |
|
1600 |
1000 |
_ |
_ |
90,0 | |
П р и м е ч а н и е - У угольников УЛ и УЛП допуски перпендикулярности, установленные в настоящей таблице, выдержаны в пределах угла поворота угольника в плоскости опорной поверхности на ± 15° от среднего положения.
Таблица 3 - Допуски плоскостности измерительных поверхностей Б и В на длине Н и допуски плоскостности и параллельности опорных поверхностей Г и Ж на длине H угольников УП и УШ
|
Н, мм |
Допуск, мкм | ||||||||
|
плоскостности измерительных поверхностей Б и В |
плоскостности опорных поверхностей Г и Ж |
параллельности опорных поверхностей Г и Ж | |||||||
|
класс точности | |||||||||
|
0 |
1 |
2 |
0 |
1 |
2 |
0 |
1 |
2 | |
|
60 |
1,0 |
2,0 |
4,0 |
1,5 |
2,5 |
5,0 |
2,5 |
5,0 |
10,0 |
|
100 |
1,0 |
2,0 |
4,0 |
1,5 |
2,5 |
5,0 |
3,0 |
6,0 |
12,0 |
|
160 |
1,5 |
3,0 |
6,0 |
2,0 |
4,0 |
8,0 |
3,5 |
7,0 |
14,0 |
|
250 |
1,5 |
3,0 |
6,0 |
2,0 |
4,0 |
8,0 |
4,5 |
9,0 |
18,0 |
|
400 |
2,5 |
5,0 |
10,0 |
3,0 |
6,0 |
12,0 |
6,0 |
12,0 |
25,0 |
|
630 |
3,0 |
6,0 |
12,0 |
4,0 |
8,0 |
16,0 |
8,0 |
16,0 |
30,0 |
|
1000 |
_ |
10,0 |
20,0 |
_ |
12,0 |
24,0 |
_ |
24,0 |
40,0 |
|
1600 |
_ |
_ |
30,0 |
_ |
_ |
36,0 |
_ |
_ |
60,0 |
Т а б л и ц а 4 - Допуски прямолинейности измерительных поверхностей Б и В на длине Н и L и допуски плоскостности и параллельности опорных поверхностей Г и Ж на длине Н угольников УЛ и УЛП
|
Н и L, мм |
Допуск, мкм | |||||
|
прямолинейности измерительных поверхностей Б и В |
плоскостности опорных поверхностей Г и Ж |
параллельности опорных поверхностей Г и Ж | ||||
|
класс точности | ||||||
|
0 |
1 |
0 |
1 |
0 |
1 | |
|
40 |
1,0 |
2,0 |
1,5 |
2,5 |
2,5 |
5,0 |
|
60 |
1,0 |
2,0 |
1,5 |
2,5 |
2,5 |
5,0 |
|
100 |
1,0 |
2,0 |
1,5 |
2,5 |
3,0 |
6,0 |
|
160 |
1,5 |
3,0 |
2,0 |
4,0 |
3,5 |
7,0 |
|
250 |
1,5 |
3,0 |
2,0 |
4,0 |
4,5 |
9,0 |
П р и м е ч а н и е - Допуски прямолинейности, установленные в настоящей таблице, выдержаны в пределах угла поворота угольника в плоскости опорной поверхности на ± 15° от среднего положения.
Таблица 5 - Допуски прямолинейности измерительной поверхности Б на длине Н и допуски плоскостности опорных поверхностей Г угольников УЛЦ
|
Н, мм |
Допуск, мкм | |
|
прямолинейности измерительной поверхности Б |
плоскостности опорных поверхностей Г | |
|
160 |
1,5 |
1,5 |
|
250 |
1,5 |
2,0 |
|
400 |
2,5 |
2,0 |
|
630 |
3,0 |
2,0 |
Т а б л и ц а 6 - Допуски перпендикулярности боковых поверхностей Е угольников УП и УШ к опорной поверхности Г на длине Н
|
Н, мм |
Допуски перпендикулярности боковых поверхностей Е к опорной поверхности Г, мкм | ||
|
класс точности | |||
|
0 |
1 |
2 | |
|
60 |
40 |
40 |
125 |
|
100 |
50 |
50 |
160 |
|
160 |
60 |
60 |
200 |
|
250 |
80 |
80 |
250 |
|
400 |
100 |
100 |
320 |
|
630 |
125 |
125 |
400 |
|
1000 |
_ |
160 |
500 |
|
1600 |
_ |
_ |
630 |
Т а б л и ц а 7 - Материал угольников и твердость измерительных поверхностей
|
Модификация |
Материал |
Твердость, не ниже |
Колебание твердости для одной поверхности, не более |
|
УЛ |
Сталь марок Х, 9Х по ГОСТ 5950-2000, марки ШХ15 по ГОСТ 801-78 или марки У8А по ГОСТ 1435-99 |
655 HV (58 HRC) |
55 HV (3 HRC) |
|
УЛП | |||
|
УЛЦ | |||
|
УП |
55 1 IRC (53,8 HRC) |
3 HRCэ (2 HRC) | |
|
УШ |
Таблица 8- Параметры шероховатости измерительных и опорных поверхностей
|
Модификация |
Н, мм |
Параметры шероховатости Ra на базовой длине 0,25 мм*, мкм, не более | |||||
|
измерительных Б и В |
опорных Г и Ж | ||||||
|
класс точности | |||||||
|
0 |
1 |
2 |
0 |
1 |
2 | ||
|
УЛ |
60 |
0,04 |
0,04 |
_ |
0,08 |
0,08 |
_ |
|
100 |
0,04 |
0,04 |
_ |
0,08 |
0,08 |
_ | |
|
160 |
0,04 |
0,04 |
_ |
0,08 |
0,08 |
_ | |
|
УЛП |
60 |
0,04 |
_ |
_ |
0,08 |
_ |
_ |
|
100 |
0,04 |
_ |
_ |
0,08 |
_ |
_ | |
|
160 |
0,04 |
_ |
_ |
0,08 |
_ |
_ | |
|
250 |
0,04 |
_ |
_ |
0,08 |
_ |
_ | |
|
УЛЦ |
160 |
0,08 |
_ |
_ |
0,16 |
_ |
_ |
|
250 |
0,08 |
_ |
_ |
0,16 |
_ |
_ | |
|
400 |
0,08 |
_ |
_ |
0,16 |
_ |
_ | |
|
630 |
0,08 |
_ |
_ |
0,16 |
_ |
_ | |
|
УП |
60 |
_ |
0,08 |
0,16 |
_ |
0,16 |
0,32 |
|
100 |
_ |
0,08 |
0,16 |
_ |
0,16 |
0,32 | |
|
160 |
_ |
0,08 |
0,16 |
_ |
0,16 |
0,32 | |
|
250 |
_ |
0,08 |
0,16 |
_ |
0,16 |
0,32 | |
|
400 |
_ |
0,08 |
0,16 |
_ |
0,16 |
0,32 | |
|
УШ |
60 |
0,08 |
0,08 |
0,16 |
0,32 |
0,32 |
0,63 |
|
100 |
0,08 |
0,08 |
0,16 |
0,32 |
0,32 |
0,63 | |
|
160 |
0,08 |
0,08 |
0,16 |
0,32 |
0,32 |
0,63 | |
|
250 |
0,08 |
0,08 |
0,16 |
0,32 |
0,32 |
0,63 | |
|
400 |
0,08 |
0,08 |
0,16 |
0,32 |
0,32 |
0,63 | |
|
630 |
_ |
0,16 |
0,32 |
_ |
0,63 |
0,63 | |
|
1000 |
_ |
0,16 |
0,32 |
_ |
0,63 |
0,63 | |
|
1600 |
_ |
0,16 |
0,32 |
_ |
0,63 |
0,63 | |
* На опорных поверхностях угольников УШ 1-го класса точности размером свыше 400 мм и угольников УШ 2-го класса точности базовая длина установлена 0,8 мм.
Т а б л и ц а 9 - Допускаемые статические нагрузки на соединение линейки угольников УШ
|
Н, мм |
Нагрузка, кгс (Н), не более |
|
60 |
20 (196) |
|
100 |
20 (196) |
|
160 |
20 (196) |
|
250 |
30 (294) |
|
400 |
30 (294) |
|
630 |
30 (294) |
|
1000 |
40 (392) |
|
1600 |
40 (392) |
Таблица 10 - Габаритные размеры и масса
|
Модификация |
Н, мм |
Габаритные размеры, мм, не более |
Масса, кг, не более | ||
|
высота |
длина |
ширина | |||
|
УЛ |
60 |
60 |
40 |
8 |
0,15 |
|
100 |
100 |
60 |
10 |
0,45 | |
|
160 |
160 |
100 |
10 |
1,00 | |
|
УЛП |
60 |
60 |
40 |
6 |
0,1 |
|
100 |
100 |
60 |
6 |
0,2 | |
|
160 |
160 |
100 |
6 |
0,4 | |
|
250 |
250 |
160 |
10 |
1,0 | |
|
УЛЦ |
160 |
160 |
80 |
80 |
6,50 |
|
250 |
250 |
100 |
100 |
10,00 | |
|
400 |
400 |
125 |
125 |
18,00 | |
|
630 |
630 |
160 |
160 |
40,00 | |
|
УП |
60 |
60 |
40 |
6 |
0,10 |
|
100 |
100 |
60 |
8 |
0,20 | |
|
160 |
160 |
100 |
8 |
0,40 | |
|
250 |
250 |
160 |
10 |
1,00 | |
|
400 |
400 |
250 |
10 |
1,60 | |
|
УШ |
60 |
60 |
40 |
20 |
0,36 |
|
100 |
100 |
60 |
22 |
0,40 | |
|
160 |
160 |
100 |
28 |
1,00 | |
|
250 |
250 |
160 |
36 |
1,50 | |
|
400 |
400 |
250 |
38 |
3,50 | |
|
630 |
630 |
400 |
42 |
7,00 | |
|
1000 |
1000 |
630 |
50 |
14,00 | |
|
1600 |
1600 |
1000 |
60 |
33,00 | |
Таблица 11 - Общие технические характеристики
|
Наименование характеристики |
Значение |
|
Параметр шероховатости Ra боковых поверхностей корпуса и скосов угольников УЛ на базовой длине 0,8 мм, мкм, не более |
0,63 |
|
Параметр шероховатости Ra боковых и торцовых поверхностей, скосов и фасок угольников УЛП и УП, на базовой длине 0,8 мм, мкм, не более |
0,63 |
|
Параметр шероховатости Ra боковых и торцовых поверхностей, скосов и фасок угольников УШ, на базовой длине 0,8 мм, мкм, не более |
1,25 |
|
Радиус закругления измерительных поверхностей угольников УЛ и УЛП, мм |
(0,2 ± 0,1) |
|
Условия эксплуатации: - температура окружающего воздуха, °С - изменение температуры, °С/ч |
от +16,5 до +23,5 0,5 |
Таблица 12 - Показатели надежности
|
Наименование характеристики |
Значение |
|
Полный средний срок службы, лет |
5 |
Знак утверждения типа
наносится на угольники методом лазерной гравировки или наклейки и на паспорт типографским способом.
Комплектность
Таблица 13 - Комплектность средства измерений
|
Наименование |
Обозначение |
Количество |
|
Угольник поверочный 90° |
_ |
1 шт. |
|
Футляр |
_ |
1 шт. |
|
Паспорт |
_ |
1 экз. |
Сведения о методах измерений
приведены в разделе 5 «Подготовка к работе и правила эксплуатации» паспорта.
Нормативные документы
ГОСТ 3749-77 «Угольники поверочные 90°. Технические условия».








