Преобразователи измерительные постоянного тока и напряжения Е3856ЭЛ
| Номер в ГРСИ РФ: | 95487-25 |
|---|---|
| Производитель / заявитель: | ОАО "Электроприбор", г.Чебоксары |
Преобразователи измерительные постоянного тока и напряжения Е3856ЭЛ (далее по тексту - преобразователи) предназначены для преобразования силы тока, напряжения, мощности в электрических цепях постоянного тока в унифицированный аналоговый сигнал и передачи по последовательному цифровому интерфейсу RS-485.
Информация по Госреестру
| Основные данные | |
|---|---|
| Номер по Госреестру | 95487-25 |
| Действует | по 15.05.2030 |
| Наименование | Преобразователи измерительные постоянного тока и напряжения |
| Модель | Е3856ЭЛ |
| Характер производства | Серийное |
| Идентификатор записи ФИФ ОЕИ | 542b40e6-d197-0406-c3b3-7c0e77357827 |
Производитель / Заявитель
Открытое акционерное общество "Электроприбор" (ОАО "Электроприбор"), г. Чебоксары
Поверка
| Межповерочный интервал / Периодичность поверки |
4 года
|
| Зарегистрировано поверок | |
| Найдено поверителей | |
| Успешных поверок (СИ пригодно) | 3 (100%) |
| Неуспешных поверок (СИ непригодно) | 0 (0 %) |
| Актуальность информации | 22.03.2026 |
Поверители
Скачать
|
95487-25: Описание типа
2025-95487-25.pdf
|
Скачать | 170.8 КБ | |
|
95487-25: Методика поверки
2025-mp95487-25.pdf
|
Скачать | 9.6 MБ |
Описание типа
Назначение
Преобразователи измерительные постоянного тока и напряжения Е3856ЭЛ (далее по тексту - преобразователи) предназначены для преобразования силы тока, напряжения, мощности в электрических цепях постоянного тока в унифицированный аналоговый сигнал и передачи по последовательному цифровому интерфейсу RS-485.
Описание
Преобразователи предназначены для непрерывной работы в составе автоматизированных информационно-измерительных систем.
Преобразователи относятся к классу цифровых микропроцессорных программируемых измерительно-вычислительных преобразователей, реализующих принцип аналого-цифрового преобразования входных величин с последующей математической и алгоритмической обработкой измеренных/преобразованных величин. Полученные результаты, включая результаты измерений/преобразования, отображаются на дисплее преобразователя (при его наличии) и передаются через коммуникационные интерфейсы.
Конструкция клемм обеспечивает надежное механическое крепление и электрический контакт подключаемых проводов.
Цепи питания гальванически изолированы от других цепей преобразователя и корпуса.
Преобразователи являются многоканальными и имеют исполнения по входным сигналам, диапазонам измерений, количеству каналов, напряжению питания, наличию дополнительного интерфейса, дискретным и аналоговым выходам, наличию дисплея. При необходимости возможен заказ специального исполнения преобразователя.
Информация об исполнениях преобразователей содержится в коде полного условного обозначения:
Е3856ЭЛ - а1, а2, а3 - b - с - d - e - f - g,
где а1, а2, а3 - условное обозначение диапазонов измерений;
b - условное обозначение напряжения питания;
c - условное обозначение наличия дополнительного интерфейса RS-485;
d - условное обозначение количества аналоговых выходов и диапазонов изменений аналоговых выходов;
e - условное обозначение дискретных выходов;
f - условное обозначение наличия дисплея;
g - специальное исполнение.
Преобразователи имеют единый конструктив: ударопрочный, пылезащищенный, пластмассовый корпус с креплением на DIN-рейку.
Преобразователи работоспособны при установке в любом положении.
Преобразователи не имеют подвижных частей и являются виброустойчивыми и вибростойкими.
Доступ к внутренним частям преобразователей возможен только с нарушением пломб/этикеток.
Преобразователи являются восстанавливаемыми, ремонтируемыми изделиями методом печати.
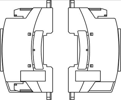
Общий вид преобразователей показан на рисунках 1 и 2.
Заводские номера наносятся в цифровом формате на лицевой панели преобразователей с помощью УФ-печати, как показано на рисунке 1.
Места нанесения знака поверки и клейма ОТК с помощью пломбы-наклейки (разрушающейся полиэфирной пленки) с оттиском показаны на рисунке 3.
Место нанесения знака утверждения типа
Место нанесения заводского номера
Рисунок 1 - Общий вид преобразователей Е3856ЭЛ с указанием мест нанесения заводского (серийного) номера и знака утверждения типа
Рисунок 2 - Вид крепления преобразователей на DIN-рейку
п. 1 - место нанесения клейма ОТК
п. 2 - место нанесения знака поверки
Рисунок 3 - Места нанесения знака поверки и клейма ОТК
Программное обеспечение
Программное обеспечение (ПО) преобразователей является встроенным и обеспечивает функционирование прибора, включая измерение и вычисление метрологических величин, прием и передачу данных, отображение данных на лицевой панели преобразователя.
Встраиваемое программное обеспечение преобразователей защищено от изменения.
При проведении санкционированных регламентных работ, программируется диапазон показаний и, при необходимости, проводится калибровка (формируются калибровочные коэффициенты). При изменении диапазона показаний производится отметка в паспорте, которая содержит установленный диапазон показаний, дату и подпись ответственного исполнителя. Изменение диапазона показаний или проведение калибровочных работ не ведет к изменению контрольной суммы ВПО.
Сервисное ПО Конфигуратор обеспечивает (в случае необходимости) перенастройку параметров подключения, параметров индикации, изменение диапазона показаний, задание параметров аналоговых/дискретных выходов, настройки связи и индикации параметров на дисплее (в зависимости от исполнения преобразователя).
Сведения об идентификационных данных программного обеспечения (ПО) представлены в таблицах 1, 2.
Таблица 1 - Идентификационные данные внешнего программного обеспечения
|
Идентификационные данные (признаки) |
Значение |
|
Наименование программного обеспечения |
Сервисное ПО Конфигуратор |
|
Идентификационное наименование ПО |
- |
|
Номер версии (идентификационный номер ПО) |
не ниже v.1.3.6 |
|
Цифровой идентификатор ПО |
- |
|
Другие идентификационные данные |
- |
Таблица 2 - Идентификационные данные встроенного программного обеспечения
|
Идентификационные данные (признаки) |
Значение |
|
Наименование программного обеспечения |
E3856.elp |
|
Идентификационное наименование ПО |
- |
|
Номер версии (идентификационный номер ПО) |
не ниже v.1.0 |
|
Цифровой идентификатор ПО |
5be74413b1b97f1fca3cd4f3fdf981f4 |
|
Другие идентификационные данные |
- |
Уровень защиты программного обеспечения от непреднамеренных и преднамеренных изменений - «высокий» в соответствии с Р 50.2.077-2014.
Технические характеристики
Метрологические и технические характеристики преобразователей приведены в таблицах 3, 4.
Таблица 3 - Метрологические характеристики
|
Наименование характеристики |
Значение |
|
Диапазон номинальных значений входного сигнала: - по напряжению, В - по току, мА - по мощности, Вт |
от ± 0,06 до ± 750,00 от 2 до 10 |
|
от ±1 до ± 2000, от 4 до 20 | |
|
от ± 640’4 до ± 1500 | |
|
Диапазон измерений входного сигнала: - по напряжению - по току - по мощности |
от 0 до ± 1,2^ином 1) |
|
от 0 до ± 1,2-1ном 2) | |
|
от 0 до ± 1,2-Рном 3) | |
|
Диапазон изменения выходного аналогового сигнала, мА4)5) |
от 0 до 5 (5) от 4 до 20 (20) от 0 до 20 (20) от 0 до 2,5 до 5 (5) от 4 до 12 до 20 (20) от 0 до 10 до 20 (20) |
|
Пределы допускаемой основной приведенной (к номинальному значению) погрешности измерений, %: - по напряжению и силе постоянного тока - по мощности |
± 0,2 ± 0,5 |
|
Пределы допускаемой основной приведенной погрешности преобразования входного сигнала в выходной аналоговый сигнал, % |
± 0,5 |
Окончание таблицы 3
|
Наименование характеристики |
Значение |
|
Пределы допускаемой дополнительной погрешности, вызванной отклонением температуры окружающего воздуха на каждые ±10 °С от нормальных условий6), %: - по напряжению и силе постоянного тока - по мощности |
± 0,1 ± 0,25 |
|
Пределы допускаемой дополнительной погрешности, вызванной отклонением влажности воздуха от нормальных условий7), %: - по напряжению и силе постоянного тока - по мощности |
± 0,1 ± 0,25 |
|
1) ином - номинальное значение входного сигнала по напряжению; 2) 1ном - номинальное значение входного сигнала по току; 3) Рном - номинальное значение входного сигнала по мощности (где Рном = ином*1ном). 4) В скобках приведено нормирующее значение выходного аналогового сигнала. 5) Диапазон изменений выходного аналогового сигнала может быть перепрограммирован при помощи программы-конфигуратора. 6) Диапазон значений влияющей температуры: от -40 °С до +15 °С (не включ.); свыше +25 °С до + 70 °С. 7) Диапазон значений влияющей величины: св. 80 % до 98 % (при температуре +35 °С). | |
Таблица 4 - Технические характеристики
|
Наименование характеристики |
Значение |
|
Параметры электрического питания 1): - напряжение переменного тока, В - частота переменного тока, Гц - напряжение постоянного тока, В |
от 80 до 305 |
|
от 47,5 до 52,5 | |
|
от 100 до 430 от 9 до 18 от 18 до 36 | |
|
Мощность, потребляемая по цепи питания, 1ГА, не более 2) |
10 |
|
Габаритные размеры (длинахвысотахглубина), мм, не более 3) |
110х93х57 |
|
Масса, кг, не более |
0,4 |
|
Нормальные условия применения: - температура окружающей среды, °С - относительная влажность воздуха, % - атмосферное давление, кПа (мм. рт. ст.) |
от +15 до +25 от 30 до 80 от 84,0 до 106,7 (от 630 до 795) |
|
Рабочие условия применения: - температура окружающей среды, °С - относительная влажность воздуха при +35 °С, % - атмосферное давление, кПа (мм. рт. ст.) |
от - 40 до + 70 98 от 70,0 до 106,7 (от 525 до 795) |
|
Средний срок службы, лет |
20 |
|
Средняя наработка на отказ, ч |
200 000 |
Окончание таблицы 4
|
Наименование характеристики |
Значение |
|
1) Зависит от исполнения преобразователя. 2) Значение мощности приведено для преобразователя с максимальным количеством опций. 3) Габаритные размеры приведены без учета выдвинутого крепежа. Примечания: 1) Преобразователи соответствуют требованиям безопасности по ГОСТ 22261-94, ГОСТ IEC 61010-1-2014, включая безопасность обслуживающего персонала в части защиты от поражения электрическим током, опасной температуры, воспламенения. 2) По пожарной безопасности преобразователи соответствуют ГОСТ 12.1.004-91. | |
Знак утверждения типа
наносится в верхней части лицевой панели преобразователя и в паспорт преобразователя с помощью типографской печати.
Комплектность
Таблица 5 - Комплектность средства измерений
|
Наименование |
Обозначение |
Количество |
|
Преобразователь измерительный постоянного тока и напряжения (исполнение - по заказу) |
Е3856ЭЛ |
1 шт. |
|
Комплект монтажных частей |
_ |
1 шт. |
|
Паспорт |
0ПЧ.468.728 |
1 экз. |
|
Руководство по эксплуатации |
0ПЧ.140.367 РЭ |
1 экз. 1) |
|
Примечание - 1) допускается один экземпляр на партию до 10 шт. | ||
Сведения о методах измерений
приведены в руководстве по эксплуатации 0ПЧ.140.367 РЭ «Преобразователи измерительные постоянного тока и напряжения Е3856ЭЛ. Руководство по эксплуатации» раздел 3 «Использование по назначению».
Нормативные документы
ГОСТ 22261-94 «Средства измерений электрических и магнитных величин. Общие технические условия»;
ГОСТ 14014-91 «Приборы и преобразователи измерительные цифровые напряжения, тока, сопротивления. Общие технические требования и методы испытаний»;
ГОСТ Р МЭК 60688-2015 «Преобразователи электрические измерительные для преобразования электрических параметров переменного и постоянного тока в аналоговые и цифровые сигналы»;
Приказ Федерального агентства по техническому регулированию и метрологии от 28 июля 2023 г. № 1520 «Об утверждении государственной поверочной схемы для средств измерений постоянного электрического напряжения и электродвижущей силы»;
Приказ Федерального агентства по техническому регулированию и метрологии от 1 октября 2018 г. № 2091 «Об утверждении государственной поверочной схемы для средств измерений силы постоянного электрического тока в диапазоне от 1 •IO-16 до 100 А»;
Приказ Федерального агентства по техническому регулированию и метрологии от 23 июля 2021 г. № 1436 «Об утверждении государственной поверочной схемы для средств измерений электроэнергетических величин в диапазоне частот от 1 до 2500 Гц»;
ТУ 26.51.43-258-05763903-2024 Преобразователи измерительные постоянного тока и напряжения Е3856ЭЛ. Технические условия.
Смотрите также


