Полуприцеп - цистерна ALI RIZA USTA A3TY ST
| Номер в ГРСИ РФ: | 96913-25 |
|---|---|
| Производитель / заявитель: | Фирма "ALI RIZA USTA TANKER SAN. VE TIC. Ltd. STI", Турция |
|
96913-25: Описание типа
2025-96913-25.pdf
|
Скачать | 428.2 КБ |
Полуприцеп - цистерна ALI RIZA USTA A3TY ST (далее - ППЦ) является транспортной мерой полной вместимости и предназначена для хранения, перевозки и измерения объема нефти и нефтепродуктов.
Информация по Госреестру
| Основные данные | |||||||
|---|---|---|---|---|---|---|---|
| Номер по Госреестру | 96913-25 | ||||||
| Наименование | Полуприцеп - цистерна | ||||||
| Модель | ALI RIZA USTA A3TY ST | ||||||
| Приказы |
№2550 от
24.11.2025
— Об утверждении типов средств измерений
|
||||||
| Код идентификации производства |
ОС
СИ не соответствует критериям подтверждения производства на территории
РФ в соответствии с постановлением №719
|
||||||
| Характер производства | Единичное | ||||||
| Идентификатор записи ФИФ ОЕИ | 5d23a9f6-c0e3-7f78-0df9-27d5b789e386 | ||||||
| Испытания |
|
||||||
Производитель / Заявитель
ALI RIZA USTA TANKER SAN. LTD. STI, ТУРЦИЯ, Haci Yusuf Mescid Mah. Ankara – Adana Cevre Yolu 4. Km (Sedirler Cikisi) Karatay/KONYA
Поверка
| Методика поверки / информация о поверке |
ГОСТ 8.600-2011 Государственная система обеспечения единства измерений. Автоцистерны для жидких нефтепродуктов. Методика поверки
(с 24.11.2025)
|
| Межповерочный интервал / Периодичность поверки |
1 год
|
| Зарегистрировано поверок | |
| Найдено поверителей | |
| Успешных поверок (СИ пригодно) | 1 (100%) |
| Неуспешных поверок (СИ непригодно) | 0 (0 %) |
| Актуальность информации | 29.03.2026 |
Поверители
Скачать
|
96913-25: Описание типа
2025-96913-25.pdf
|
Скачать | 428.2 КБ |
Описание типа
Назначение
Полуприцеп - цистерна ALI RIZA USTA A3TY ST (далее - ППЦ) является транспортной мерой полной вместимости и предназначена для хранения, перевозки и измерения объема нефти и нефтепродуктов.
Описание
Принцип действия ППЦ основан на заполнении её нефтепродуктом до указателя уровня налива соответствующего определённому объёму нефтепродукта. Заполнение ППЦ нефтепродуктом осуществляется через заливную горловину. Слив нефтепродукта производится самотёком или через насос.
ППЦ состоит из стальной сварной цистерны цилиндрической формы постоянного сечения, установленной на шасси. Для гашения гидравлических ударов во время движения внутри ППЦ установлены волнорезы. Цистерна состоит из двух герметичных секций, каждая из которых является мерой полной вместимости. Каждая секция цистерны оборудована заливной горловиной с установленным указателем уровня налива.
Технологическое оборудование ППЦ предназначено для операций налива-слива нефтепродуктов и включает в себя:
- горловину с указателем уровня налива;
- съёмную крышку горловины с заливным люком и дыхательным клапаном;
- клапан донный;
- кран шаровой;
- рукава напорно-всасывающие.
На боковых сторонах и сзади ППЦ имеются надписи «Огнеопасно», а также информационные таблички, обозначающие транспортное средство, перевозящее опасный груз.
ППЦ имеет заводской номер (VIN) NP9A3TYSTCH042485.
Заводской номер ППЦ (VIN) в виде цифро-буквенного обозначения, состоящего из девяти букв латинского алфавита и восьми арабских цифр, нанесён методом фотопечати на информационную табличку, расположенную на раме шасси передней части ППЦ.
Общий вид ППЦ и место нанесения заводского номера (VIN) представлены на рисунке 1.
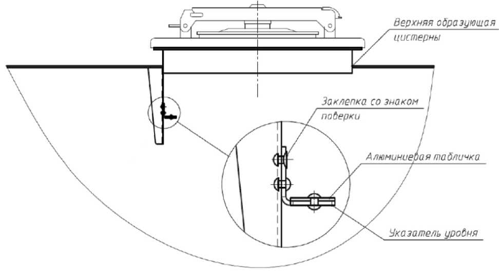
Схема пломбировки от несанкционированного изменения положения указателя уровня налива представлена на рисунке 2.
Знак поверки наносится ударным способом на заклёпку, крепящую указатель уровня налива.
Место нанесения заводского номера (VIN)
Рисунок 1 - общий вид полуприцепа - цистерны ALI RIZA USTA A3TY ST и место нанесения заводского номера (VIN)
Рисунок 2 - схема пломбировки от несанкционированного изменения положения указателя уровня налива
Технические характеристики
Таблица 1 - Метрологические характеристики
|
Наименование характеристики |
Значение |
|
Номинальная вместимость ТМ, м3 |
28,075 |
|
Номинальная вместимость секций ТМ, м3 - 1-я секция - 2-я секция |
14,700 13,375 |
|
Пределы допускаемой относительной погрешности ТМ (массовый метод), % |
0,4 |
|
Разность между номинальной и действительной вместимостью, %, не более |
± 1,5 |
Таблица 2 - Основные технические характеристики
|
Наименование характеристики |
Значение |
|
Масса ТМ в порожнем состоянии, кг, не более |
7000 |
|
Полная масса (максимально допустимая), кг, не более |
39500 |
|
Габаритные размеры, мм, не более: - длина - ширина - высота |
10000 2700 3500 |
|
Условия эксплуатации: - температура окружающего воздуха, °С - атмосферное давление, кПа |
от - 40 до + 50 от 84,0 до 106,7 |
Знак утверждения типа
наносится на титульный лист паспорта ППЦ печатным способом.
Комплектность
Таблица 3 - Комплектность средства измерений
|
Наименование |
Обозначение |
Количество |
|
Полуприцеп - цистерна ALI RIZA USTA A3TY ST |
Заводской номер (VIN) NP9A3TYSTCH042485 |
1 шт. |
|
Запасные части, инструменты и принадлежности |
- |
1 шт. |
|
Паспорт |
- |
1 экз. |
Сведения о методах измерений
приведены в разделе 5 паспорта ППЦ.
Нормативные документы
Приказ Росстандарта от 26 сентября 2022 г. № 2356 «Об утверждении Государственной поверочной схемы для средств измерения массы и объема жидкости в потоке, объема жидкости и вместимости при статических измерениях, массового и объемного расходов жидкости».
Смотрите также
