Система измерений количества и показателей качества нефти № 1015 (основная схема учета)
| Номер в ГРСИ РФ: | 97891-26 |
|---|---|
| Производитель / заявитель: | ООО "Эмерсон", г.Москва |
Система измерений количества и показателей качества нефти № 1015 (основная схема учета) (далее - система) предназначена для автоматического измерения массы и показателей качества нефти.
Информация по Госреестру
| Основные данные | |||||||
|---|---|---|---|---|---|---|---|
| Номер по Госреестру | 97891-26 | ||||||
| Наименование | Система измерений количества и показателей качества нефти № 1015 (основная схема учета) | ||||||
| Приказы |
№393 от
04.03.2026
— Об утверждении типов средств измерений
|
||||||
| Код идентификации производства |
ОС
СИ не соответствует критериям подтверждения производства на территории
РФ в соответствии с постановлением №719
|
||||||
| Характер производства | Единичное | ||||||
| Идентификатор записи ФИФ ОЕИ | 7095c6e1-8074-5372-9e58-223225929227 | ||||||
| Испытания |
|
||||||
Производитель / Заявитель
ООО «Эмерсон», РОССИЯ, 115054, г. Москва, улица Дубининская, дом 53, стр. 5
Поверка
| Методика поверки / информация о поверке |
МП 1735-14-2025 Государственная система обеспечения единства измерений. Система измерений количества и показателей качества нефти № 1015 (основная схема учета). Методика поверки.
(с 04.03.2026)
|
| Межповерочный интервал / Периодичность поверки |
1 год
|
| Зарегистрировано поверок | |
| Актуальность информации | 29.03.2026 |
Поверители
Скачать
|
97891-26: Описание типа
2026-97891-26.pdf
Файл устарел
|
Скачать | 171.8 КБ | |
|
97891-26: Методика поверки
МП 1735-14-2025
2026-mp97891-26.pdf
Файл устарел
|
Скачать | 458.5 КБ | |
|
97891-26: Описание типа
2026-97891-26-1.pdf
|
Скачать | 171.8 КБ | |
|
97891-26: Методика поверки
МП 1735-14-2025
2026-mp97891-26-1.pdf
|
Скачать | 458.5 КБ |
Описание типа
Назначение
Система измерений количества и показателей качества нефти № 1015 (основная схема учета) (далее - система) предназначена для автоматического измерения массы и показателей качества нефти.
Описание
Принцип действия системы основан на использовании прямого метода динамических измерений массы брутто нефти.
При прямом методе динамических измерений массу брутто нефти измеряют с применением счетчиков-расходомеров массовых. Выходные электрические сигналы счетчиков-расходомеров массовых поступают на соответствующие входы контроллера измерительного, который преобразует их и вычисляет массу брутто нефти по реализованному в нем алгоритму.
Массу нетто нефти вычисляет измерительный контроллер, как разность массы брутто нефти и массы балласта, используя результаты определения массовой доли механических примесей, массовой концентрации хлористых солей в аккредитованной испытательной лаборатории и массовой доли воды в нефти, используя результаты измерений, полученные в аккредитованной испытательной лаборатории или вычисленной системой обработки информации по результатам автоматических измерений объемной доли воды в нефти поточным влагомером.
Система представляет собой единичный экземпляр измерительной системы целевого назначения, спроектированной для конкретного объекта и состоящей из блока измерительных линий, блока измерений показателей качества нефти, системы обработки информации и системы дренажа.
Монтаж и наладка системы осуществлены непосредственно на объекте эксплуатации в соответствии с проектной и эксплуатационной документацией на систему и ее компоненты.
В состав системы входят средства измерений, участвующие в измерениях массы нефти, измерениях и контроле показателей качества нефти, а также контроле технологических режимов работы системы, приведенные в таблице 1. Часть средств измерений формируют измерительные каналы (ИК) системы, приведенные в таблице 3.
Таблица 1 - Состав системы
|
Наименование средства измерений |
Регистрационный номер* |
|
Счетчики-расходомеры массовые Micro Motion модификации CMF 400 (далее - СРМ) |
45115-10 |
|
Преобразователи плотности жидкости измерительные тип 7835 |
94755-25, 94766-25 |
|
Влагомеры нефти поточные УДВН-1пм |
14557-10 |
|
Преобразователи давления измерительные 3051 |
14061-10, 14061-15 |
|
Термопреобразователи сопротивления платиновые серии 65 |
22257-11 |
|
Преобразователи измерительные 3144P |
14683-09 |
|
Датчики температуры Rosemount 3144Р |
63889-16 |
|
*В Федеральном информационном фонде по обеспечению единства измерений. | |
В состав системы входят показывающие средства измерений давления и температуры.
Общий вид системы с указанием места нанесения заводского номера приведен на рисунке 1.
Заводской номер системы (№ 1015) нанесен на маркировочную табличку, методом гравировки, в месте, указанном на рисунке 1.
Место нанесения заводского номера
Рисунок 1 - Общий вид системы с указанием места нанесения заводского номера
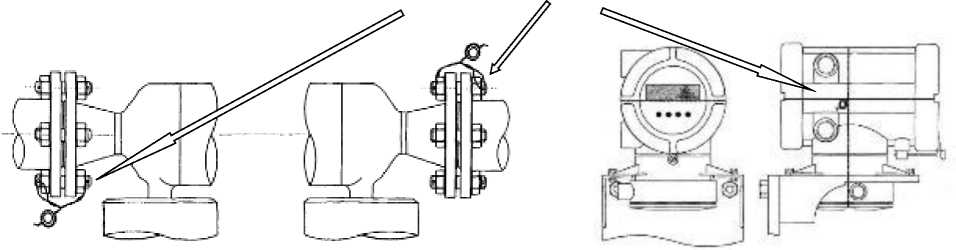
Для исключения возможности несанкционированного вмешательства, которое может повлиять на результат измерений на контровочной проволоке:
- пропущенной через отверстия шпилек, расположенных на диаметрально противоположных фланцах СРМ;
- охватывающей корпус преобразователя серии 2700, эксплуатируемого в комплекте с СРМ;
- пропущенной через отверстия в задней части корпуса контроллеров измерительных FloBoss модели S600+ (далее - ИВК), заводские № 20027366, 20027364, 20027828;
устанавливается свинцовая (пластмассовая) пломба, несущая на себе знак поверки (оттиск клейма поверителя), который наносится методом давления.
Схемы пломбировки от несанкционированного доступа с местами установки пломб, представлены на рисунках 2, 3.
Места установки пломб
а) СРМ
б) преобразователь серии 2700
Рисунок 2 - Схема пломбировки СРМ и преобразователя серии 2700
Место установки пломбы
Рисунок 3 - Схема пломбировки ИВК
Программное обеспечение
Система имеет программное обеспечение (ПО), реализованное в ИВК, обеспечивает реализацию функций системы. Идентификационные данные ПО указаны в таблице 2.
Метрологические характеристики системы указаны с учетом влияния ПО.
Уровень защиты ПО высокий в соответствии с Р 50.2.077 - 2014.
аблица 2 - Идентификационные данные ПО
|
Идентификационные данные (признаки) |
Значение | |
|
ИВК (основной) |
ИВК (резервный) | |
|
Идентификационное наименование ПО |
Linux Binary.app |
Linux Binary.app |
|
Номер версии (идентификационный номер) ПО |
06.09g/09g 230712 |
06.09g/09g 230712 |
|
Цифровой идентификатор ПО |
33b8 |
33b8 |
Технические характеристики
Состав и метрологические характеристики ИК, а также метрологические и основные технические характеристики системы, и параметры измеряемой среды приведены в таблицах 3-5.
Таблица 3 - Состав и основные метрологические характеристики ИК
|
Ном ер ИК |
Наименован ие ИК |
Количест во ИК (место установки ) |
Состав ИК |
Диапазон измерени й1) |
Пределы допускаемой о тносительной погрешности ИК | |
|
Первичный измерительный преобразователь |
Вторичная часть | |||||
|
1 |
Массы (массового расхода) нефти |
1 (БИЛ2), ИЛ3) № 1) |
СРМ |
ИВК |
от 80 до 300 т/ч |
±0,25 % |
|
2 |
Массы (массового расхода) нефти |
1 (БИЛ, ИЛ № 2) |
СРМ |
ИВК |
от 80 до 300 т/ч |
±0,25 % |
|
3 |
Массы (массового расхода) нефти |
1 (БИЛ, ИЛ № 3) |
СРМ |
ИВК |
от 80 до 300 т/ч |
±0,20 %4) |
1) Указан максимальный диапазон измерений. Фактический диапазон измерений определяется при определении метрологических характеристик ИК и не может превышать максимальный диапазон измерений.
2) Блок измерительных линий.
3) Измерительная линия.
4) При применении в качестве контрольно-резервного.
Таблица 4 - Метрологические характеристики
|
Наименование характеристики |
Значение |
|
Расход через систему, т/ч* - минимальный - номинальный - максимальный |
80 350 480 |
|
Пределы допускаемой относительной погрешности измерений массы брутто нефти, % |
±0,25 |
|
Пределы допускаемой относительной погрешности измерений массы нетто нефти, % |
±0,35 |
|
* Указаны минимальное и максимальное значения диапазона расхода. Фактический диапазон расхода определяется при проведении поверки системы и не может выходить за указанные пределы. | |
аблица 5 - Основные технические характеристики системы и параметры измеряемой среды
|
Наименование характеристики |
Значение |
|
Технические характеристики системы: - давление измеряемой среды, МПа - режим работы |
от 0,2 до 0,8 постоянный |
|
Параметры измеряемой среды: - измеряемая среда - плотность в рабочем диапазоне температуры, кг/м3 - температура, °С - давление насыщенных паров при максимальной температуре нефти, кПа (мм рт. ст.), не более - массовая доля механических примесей, %, не более - массовая концентрация хлористых солей, мг/дм3, не более - массовая доля воды, %, не более |
нефть, соответствующая требованиям ГОСТ Р 51858 «Нефть. Общие технические условия» от 790 до 930 от +5 до +35 66,7 (500) 0,05 100 0,5 |
аблица 6 - Показатели надежности системы
|
Наименование характеристики |
Значение |
|
Средний срок службы, лет, не менее |
20 |
Знак утверждения типа
наносится на титульный лист инструкции по эксплуатации системы печатным способом.
Комплектность
Комплектность системы приведена в таблице 7.
аблица 7 - Комплектность системы
|
Наименование |
Обозначение |
Количество |
|
Система |
- |
1 шт. |
|
Инструкция по эксплуатации |
- |
1 экз. |
Сведения о методах измерений
приведены в документе «ГСИ. Масса нефти. Методика измерений системой измерений количества и показателей качества нефти № 1015. Основная схема учета», свидетельство об аттестации № 01.00257-2013/166014-17, регистрационный № ФР.1.29.2018.29440.
Нормативные документы
Постановление Правительства Российской Федерации от 16.11.2020 № 1847 «Об утверждении перечня измерений, относящихся к сфере государственного регулирования обеспечения единства измерений» (п. 6.1.1);
Приказ Росстандарта от 26.09.2022 № 2356 «Об утверждении Государственной поверочной схемы для средств измерений массы и объема жидкости в потоке, объема жидкости и вместимости при статических измерениях, массового и объемного расходов жидкости».
Смотрите также


