Сигнализатор уровня магнитный поплавковый горизонтальный РИЗУР‑М‑Г
- Возможность работы в резервуарах под избыточным давлением
- Применимость для широкого спектра жидкостей, включая агрессивные среды
- Наличие выходных сигналов: сухой контакт, 4–20 мА, NAMUR
- Взрывозащищённое исполнение для опасных зон (0Ex/1Ex)
- Рабочая температура от -60 до +150 °C
- Изготовление с различными типами присоединений (фланцевое, резьбовое и др.)
- Корпус из нержавеющей стали, алюминия или пластика
- Срок службы не менее 10 лет
Магнитный поплавковый сигнализатор уровня жидкости горизонтального монтажа РИЗУР-М-Г предназначен для контроля уровня жидкостей в открытых или закрытых, в том числе находящихся под избыточным давлением емкостях, на технологических установках промышленных объектов химической, нефтехимической, медицинской, пищевой и других отраслях промышленности.
Сигнализаторы РИЗУР-М-Г могут применяться в качестве индикатора наличия (отсутствия) жидкости в контролируемом объеме на заранее заданной высоте емкости. Контролируемые среды: вода, нефтепродукты, масла и любые другие жидкости.
Назначение и область применения
Сигнализаторы серии РИЗУР-М производства ООО "НПО РИЗУР" выпускаются в двух вариантах: РИЗУР-М-Г (горизонтального монтажа) и РИЗУР-М-В (вертикального монтажа).
| РИЗУР-М-Г (горизонтальный монтаж) |
РИЗУР-М-В (вертикальный монтаж) |
Параметры |
|
|
|
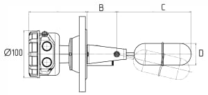
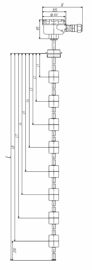
B+С - в стандартном исполнении составляет 230 мм. По согласованию с изготовителем возможно другое. Длина В должна быть не менее 65 мм. В стандартном исполнении сигнализатор РИЗУР-М-Г возможно установка в патрубок с внутренним диаметром не менее 90 мм. D - диаметр поплавка L - длина ЧЭ L1...L8 - местоположение точек контроля (указываются при заказе) Возможно изготовление сигнализатора с различными типами присоединениями: фланцевое, накидная гайка, штуцерное присоединение, под приварку и др. |
Сигнализаторы РИЗУР-М-Г используются в системах автоматического контроля, регулирования и управления технологическими процессами, в других устройствах автоматики, а также могут применяться в системах очистки и фильтрования, в резервуарах для охлаждающих и смазывающих жидкостей.
При пересечении контролируемой жидкостью заданного уровня сигнализаторы осуществляют выдачу сигнала типа «сухой контакт» (применяются контакты типа «Н/З, «Н/О» или переключающий контакт), 4…20 мА, NAMUR.
Приборы предназначены для эксплуатации как в обычных, так и во взрывоопасных зонах в соответствии с присвоенными маркировками взрывозащиты. Приборы могут быть откалиброваны в заводских условиях для сигнализации уровня различных по плотности жидкостей методом подбора и установки соответствующего поплавка.
Устройство и принцип работы
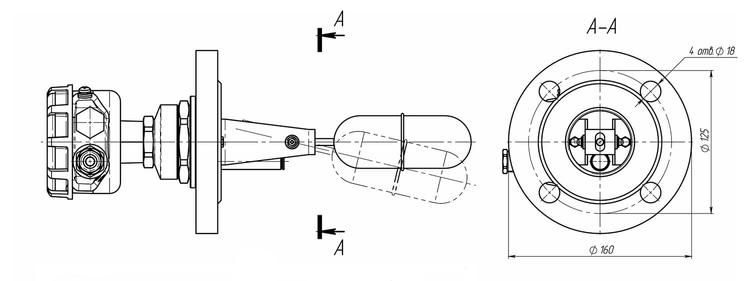
Погружная часть датчика РИЗУР-М-Г представляет собой горизонтально расположенный поплавок, зафиксированный на специальной оси. При повышении уровня жидкости поплавок поднимается с одновременным перемещением магнита (встроенного в заднюю часть рычага), воздействующего чувствительный элемент, установленный в корпусе прибора, который в свою очередь замыкает/размыкает контрольную цепь.
Магнитные поплавковые сигнализаторы уровня жидкости горизонтального монтажа РИЗУР-М-Г могут изготавливаться с различными вариантами подключения к процессу – резьбовыми и фланцевыми присоединениями. В стандартном исполнении минимальный размер подсоединения (условного прохода) зависит от диаметра поплавка, однако к заказу доступны исполнения, при которых резьбовое или фланцевое соединение имеет условный размер меньше диаметра поплавка, а поплавок фиксируется на штоке внутри резервуара.
Сигнализаторы РИЗУР-М-Г имеют все необходимые сертификаты соответствия. Система менеджента качества предприятия сертифицирована на соответсвие международному стандарту ISO 9001.
Технические характеристики
| Температура рабочей среды, °С | -60….+150 |
| Давление рабочей среды, МПа | 1,6; 2,5; 4; 6,3 (до 10 по спец. заказу) |
| Минимальная плотность измеряемой среды, кг/м3 | 750 |
| Материал контактирующий с измеряемой средой | нерж. сталь 304, 321, титан и др. |
| Количество точек срабатывания | 1 |
| Макс. допустимое напряжение на контактах, В | 220 |
| Макс. коммутируемый ток, А | 1 |
| Максимальная нагрузка на контакты, Вт | 20 |
| Температура окружающей среды, °С | -60...+60 -60...+75 |
| Ориентация в пространстве | вертикальная , горизонтальная |
| Степень защиты корпуса | IP65, IP67, IP68 (по специальному заказу) |
| Маркировка взрывозащиты | 0Ex ia IIC T6 Ga X 1Ex db IIC T6 Gb X без взрывозащиты |
| Выходной сигнал | сухой контакт 4…20 мА NAMUR |
| Материал корпуса | пластик, алюминий, нерж. сталь |
| Подключение к процессу | резьбовое (не менее G2), фланцевое (не менее DN80) |
| Средний срок службы, лет | 10 |
Расчетная плотность – плотность среды, при который поплавок погружен в жидкость на 50% от высоты, минимальная плотность – плотность среды, при которой поплавок погружен в жидкость на 85%. Эти данные необходимо принимать во внимание при расчете расстояний до контрольных точек. *Возможно изготовление сигнализаторов с поплавками, изготовленными по специальному заказу клиента (форма, размеры).
Чертежи

Сигнализатор уровня магнитный поплавковый РИЗУР‑М‑Г горизонтальный Конфигуратор
| Сертификат Электромагнитной совместимости ТР ТС 020 2011 на приборы контроля уровня.pdf | Скачать |
| Сертификат Приборы измерения и контроля расхода и уровня ТР ТС 012.pdf | Скачать |
| Опросный лист РИЗУР-М.pdf | Скачать |
| Код заказа РИЗУР-М-Г.pdf | Скачать |
| Опросный лист РИЗУР-М.docx | Скачать |
| Сертификат сейсмостойкость Приборы измерения и контроля уровня.pdf | Скачать |
| Сертификат -SIL2- Приборы измерения и контроля уровня и расхода.pdf | Скачать |
| Руководство по эксплуатации РИЗУР-М-Г.pdf | Скачать |
| Сертификат соответствия по программе «Сделано в России».pdf | Скачать |

