Пирометры портативные ПП-1
| Номер в ГРСИ РФ: | 22674-07 |
|---|---|
| Категория: | Пирометры |
| Производитель / заявитель: | ОАО "НПП "Эталон", г.Омск |
Для бесконтактного измерения температуры нагретых объектов с диапазоном излучательной способности 0,1...1,0, в машиностроении, энергетике, жилищно-коммунальном хозяйстве, металлургии.
Информация по Госреестру
| Основные данные | |
|---|---|
| Номер по Госреестру | 22674-07 |
| Действует | по 22.06.2027 |
| Наименование | Пирометры портативные |
| Модель | ПП-1 |
| Код идентификации производства |
ОС
СИ не соответствует критериям подтверждения производства на территории
РФ в соответствии с постановлением №719
|
| Характер производства | Серийное |
| Идентификатор записи ФИФ ОЕИ | 67c1cb49-a3d6-1857-cf42-aa4bfa61a4eb |
| Год регистрации | 2007 |
| Общие данные | |
|---|---|
| Технические условия на выпуск | ТУ 50-00 ДДШ 2.820.008 ТУ |
| Класс СИ | 32.02 |
| Год регистрации | 2007 |
| Страна-производитель | Россия |
| Примечание | 17.08.2012 продлен срок свидетельстваВзамен № 22674-02 |
| Центр сертификации СИ | |
| Наименование центра | ГЦИ СИ Омского ЦСМ |
| Адрес центра | 644116, г.Омск, ул.24-я Северная, 117А |
| Руководитель центра | Федосенко Владимир Павлович |
| Телефон | (8*381*2) 21-62-31, 21-57-19 |
| Факс | 29-04-07 |
| Информация о сертификате | |
| Срок действия сертификата | 17.08.2017 |
| Номер сертификата | 28884 |
| Тип сертификата (C - серия/E - партия) | С |
| Дата протокола | Приказ 560 п. 14 от 17.08.201209 от 26.07.07 п.356 |
Производитель / Заявитель
Акционерное общество "Научно-производственное предприятие "Эталон" (АО "НПП "Эталон"), г. Омск
Россия
644009, ул.Лермонтова, 175, тел. (381-2) 33 8400, факс 33 7882, E-mail: fgup@omsketalon.ru, etalon@omskelecom.ru
Поверка
| Методика поверки / информация о поверке | ДДШ2.820.008 РЭ, раздел 3 |
| Межповерочный интервал / Периодичность поверки |
1 год
|
| Зарегистрировано поверок | |
| Найдено поверителей | |
| Успешных поверок (СИ пригодно) | 196 (95%) |
| Неуспешных поверок (СИ непригодно) | 10 (5 %) |
| Актуальность информации | 15.03.2026 |
Поверители
Скачать
|
22674-07: Описание типа
2017-22674-07.pdf
|
Скачать | 148.7 КБ | |
|
22674-07: Методика поверки
2022-mp22674-07.pdf
|
Скачать | 72.3 КБ |
Описание типа
Назначение
Пирометры портативные ПП-1 (далее - пирометры), предназначены для бесконтактного измерения температуры нагретых объектов с диапазоном излучательной способности от 0,1 до 1,0.
Описание
Принцип действия пирометров основан на измерении энергетической яркости инфракрасного излучения от исследуемого объекта в диапазоне (8.. .14) мкм, прошедшего через оптическую систему пирометров и направленного на приемник излучения, где происходит его поглощение. Далее сигнал преобразуется внутренней микропроцессорной системой в цифровую форму с отображением текущего значения температуры на жидкокристаллическом дисплее.
Конструктивно пирометры выполнены в виде компактного блока с расположенными в нем жидкокристаллическим индикатором и электронными узлами. Батарейный отсек расположен в боковой стенке прибора.
Пирометры являются однофункциональными, одноканальными, ремонтируемыми в условиях предприятия-изготовителя изделиями.
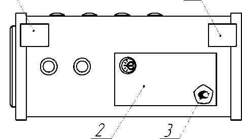
Внешний вид пирометра представлен на рисунке 1. Места размещения знака утверждения типа и пломб для защиты от несанкционированного доступа указаны на рисунке 2.
Рисунок 1 - Внешний вид пирометра ПП-1
1 1
Рисунок 2 - Места размещения маркировки, пломбы для защиты от несанкционированного доступа и нанесения знака утверждения типа
п.1 Место установки пломбы для защиты от несанкционированного доступа; п.2 Маркировка с указанием серийного номера и даты изготовления пирометра; п.3 Место нанесения знака утверждения типа
Программное обеспечение
Программное обеспечение пирометра портативного ПП-1 включает встроенное программное обеспечение микроконтроллера и СПО «PiroVisual», выполняемое на внешней ЭВМ.
Встроенное программное обеспечение расположено в памяти программ микроконтроллера, имеющей программно-аппаратную блокировку считывания и модификации содержимого. Встроенное программное обеспечение имеет уровень защиты «А» по МИ 3286-2010.
СПО «PiroVisual» разделено на метрологически значимую и метрологически незначимую части в соответствии с ГОСТ Р 8.654- 2009.
В функции метрологически значимой части СПО входит поиск и идентификация подключенных к последовательным интерфейсам ПК пирометров, изменение настроек пирометров, отображение результатов измерений температуры, полученных от пирометров, на графиках и в таблицах, сохранение накопленных данных в виде текстовых файлов.
Уровень защиты метрологически значимой части СПО от непреднамеренных и преднамеренных изменений - «С» в соответствии с МИ 3286-2010. Защита метрологически значимых данных, содержащихся в энергонезависимых запоминающих устройствах пирометров осуществляется путём блокировки доступа к данным при помощи пароля. Защита метрологически значимых данных, содержащихся в сохраненных файлах с результатами измерений, осуществляется путем автоматической проверки защищённой от просмотра контрольной суммы сформированного файла данных при его повторном открытии при помощи СПО.
Идентификационные данные метрологически значимой части программного обеспечения приведены в таблице 1.
Таблица 1
|
Наименование программного обеспечения |
Идентификационное наименование программного обеспечения |
Номер версии (идентификационный номер) программного обеспечения |
Цифровой идентификатор программного обеспечения (контрольная сумма исполняемого кода) |
Алгоритм вычисления цифрового идентификатора программного обеспечения |
|
Встроенное ПО ПП-1 |
не присвоено |
не присвоена |
исполняемый код недоступен |
- |
|
«PiroVisual» |
PiroVisual.exe |
2.0.0.75 |
9e941b8781d435cf212 1ce58d4d52cc9 |
MD5 (RFC1321) |
Технические характеристики
Диапазоны измеряемых температур и пределы допускаемых значений основной абсолютной и приведенной погрешности приведены в таблице 2. Основные характеристики пирометров приведены в таблице 3.
Таблица 2
|
Конструктивное исполнение |
Диапазон измеряемых температур, °С |
Пределы допускаемой основной абсолютной и приведенной погрешности |
|
ПП-1-01 |
от -20 до +400 |
±4 °С |
|
ПП-1-02 |
от 100 до 1200 |
± 4 °С в диапазоне температур от 100 до 400 °С, ±1% в диапазоне от 400 до 1200 °С |
|
ПП-1-03 |
от 400 до 2000 |
± 1 % |
|
ПП-1-04 |
от -40 до + 2000 |
± 4 °С в диапазоне температур от -40 до +400 °С, ±1 % в диапазоне от 400 до 2000 °С |
Пределы допускаемой дополнительной погрешности, вызванной изменением температуры окружающего воздуха на каждые 10 °С от нормальной до любой в пределах от 5 до 50 °С не должны превышать половины пределов основной погрешности.
Таблица 3
|
Напряжение питания, В |
9 |
|
Потребляемый ток, мА, не более |
15 |
|
Время установления выходного сигнала, с, не более |
1 |
|
Показатель визирования, не хуже |
1:40 |
|
Г абаритные размеры, мм, не более |
60x100x140 |
|
Масса, кг, не более |
0,5 |
|
Средняя наработка на отказ без учета времени работы элемен- | |
|
тов питания, ч, не менее |
1000 |
|
Средний срок службы, лет, не менее |
5 |
|
Рабочая температура эксплуатации, °С |
от 5 до 50 |
Знак утверждения типа
наносится в центр титульного листа эксплуатационной документации типографским способом и на прибор в виде наклейки. Место нанесения наклейки указано на рисунке 2.
Комплектность
Комплектность соответствует указанной в таблице 4.
Таблица 4
|
Наименование |
Количество |
Примечание |
|
Пирометр портативный ПП-1 |
1 шт. | |
|
Руководство по эксплуатации ДДШ 2.820.008 РЭ |
1 экз. | |
|
Термопара ТХА 0009-40 ДДШ 2.821.135-40 |
1 шт. | |
|
Кабель ДДШ 6.644.090 |
1 шт. | |
|
Программное обеспечение |
1 шт. |
CD - диск |
Поверка
осуществляется по документу ДДШ 2.820.008 РЭ, раздел 3 «Методика поверки» руководства по эксплуатации, согласованному с ГЦИ СИ «РОСТЕСТ-МОСКВА» в 2002 г.
Основные средства поверки:
1 Набор моделей АЧТ типов М300, М340, М 390 1-го разряда.
2 Диафрагма диаметром 37+0,2 мм.
3 Линейка измерительная металлическая ГОСТ 427-75 (0.. .1000) мм.
Допускается применение аналогичных средств поверки, обеспечивающих определение метрологических характеристик поверяемых СИ с требуемой точностью.
Сведения о методах измерений
приведены в эксплуатационном документе.
Нормативные документы
ГОСТ 28243-96 Пирометры. Общие технические требования
ГОСТ Р 52931-2008 Приборы контроля и регулирования технологических процессов. Общие технические условия
Другие Пирометры

