Установки измерительные Нара-200
| Номер в ГРСИ РФ: | 35464-11 |
|---|---|
| Производитель / заявитель: | ЗАО "Нара", г.Серпухов |
Для измерения объема или массы нефтепродуктов с вязкостью 0,55...150 мм2/с ( сСт) при выдаче их в автомобильные или железнодорожные цистерны с учетом требований учетно-расчетных операций, а также при технологических операциях перекачки нефтепродуктов на нефтебазах и нефтеперерабатывающих заводах на пунктах "слива-налива" на нефтебазах, нефтеперерабатывающих заводах и автозаправочных станциях.
Информация по Госреестру
| Основные данные | |
|---|---|
| Номер по Госреестру | 35464-11 |
| Действует | по 22.04.2016 |
| Наименование | Установки измерительные |
| Модель | Нара-200 |
| Характер производства | Серийное |
| Идентификатор записи ФИФ ОЕИ | ab13add7-5146-9de2-524d-e5942477b773 |
| Год регистрации | 2011 |
| Общие данные | |
|---|---|
| Класс СИ | 29.02 |
| Год регистрации | 2011 |
| Страна-производитель | Россия |
| Примечание | Взамен № 35464-08 |
| Центр сертификации СИ | |
| Наименование центра | ГЦИ СИ ООО КИП "МЦЭ" (до 2010 г. "Тест-ПЭ") |
| Адрес центра | 123424, г.Москва, Волоколамское шоссе, д.88, стр.8 |
| Телефон | () |
| Информация о сертификате | |
| Срок действия сертификата | 22.04.2016 |
| Номер сертификата | 42522 |
| Тип сертификата (C - серия/E - партия) | С |
| Дата протокола | Приказ 1891 от 22.04.11 п.17 |
Производитель / Заявитель
ЗАО "Нара", РОССИЯ, г.Серпухов
Россия
142207, Московская обл., ул.Полевая, 1. Тел./факс (4967) 75-48-92, E-mail: azt@trknara.ru
Поверка
| Методика поверки / информация о поверке | ВФКУ 2.950.413.00 РЭ, раздел 11 |
| Межповерочный интервал / Периодичность поверки |
1 год
|
| Зарегистрировано поверок | |
| Актуальность информации | 15.03.2026 |
Поверители
Скачать
|
35464-11: Описание типа
2011-35464-11.pdf
|
Скачать | 197 КБ | |
| Свидетельство об утверждении типа СИ | Открыть | ... |
Описание типа
Назначение
Установки измерительные «Нара-200» (далее - установки) предназначены для измерения объёма и массы нефтепродуктов с вязкостью от 0,55 до 150 мм2/с (сСт) при наливе их в автомобильные или железнодорожные цистерны с учетом требований учетно-расчетных операций, а также при технологических операциях перекачки нефтепродуктов на нефтебазах и нефтеперерабатывающих заводах.
Описание
Принцип действия установок состоит в следующем: нефтепродукт по трубопроводу «Вход» поступает через электронасосный агрегат в газоотделитель установки, затем в счетчик жидкости, данные с которого передаются на отсчетное устройство, отображающее информацию о прошедшем через счетчик объёме нефтепродукта. Из счетчика нефтепродукт поступает в электромагнитный регулирующий клапан, входной фланец которого подключается к приемному трубопроводу или наливному стояку.
Масса нефтепродукта определяется по результатам измерений объёма, плотности и температуры нефтепродукта средствами измерений, входящими в состав установки.
Изготавливаются установки трех моделей - «Нара-210», «Нара-220», «Нара-230», отличающихся диапазоном расхода нефтепродуктов, типом счетчика жидкости, наличием плотномера и типом электронасосного агрегата.
Установки встраиваются в систему «слива-налива» нефтепродуктов в автомобильные или железнодорожные цистерны на наливных пунктах нефтебаз и автозаправочных станций, а также при технологических операциях перекачки на нефтеперерабатывающих заводах.
Установка обычного исполнения состоит из следующих сборочных единиц:
- счетчика жидкости типа Р, ЗАО «Нара», Россия;
- газоотделителя ЗАО «Нара», Россия;
- фильтров жидкости прямого и углового, ЗАО «Нара», Россия, или компании «Policske strojirny a.s.», Чешская Республика;
- фильтра-газоотделителя ЗАО «Нара», Россия;
- коробки клеммной ККВ-12, ЗАО «Нара», Россия;
- датчика импульсов ЗАО «Нара», Россия, или компании « Veeder - Root», Великобритания;
- клапана гидравлического двухступенчатого V270 компании «Policske strojirny a.s.», Чешская Республика;
- устройства отсчетного « Топаз-106К1-Е», ООО «Топаз-сервис» г. Волгодонск-27, Россия;
- поста управления КУ-90, ОАО «ВЭЛАН», г. Зеленокумск, Россия;
- устройства заземления и контроля УЗА -2МК-04, ООО «АЛВИК», Россия;
- термопреобразователя ТСМ/1- 1187, ЗАО НПК «Эталон», г. Волгодонск, Россия (по заказу);
- плотномера ПЛОТ-3М-25 с адаптером АД-3 и с искрозащитным барьером «Бастион-4» ЗАО «ИМПУЛЬС- АВИА», Россия, или счетчика-расходомера массового MicroMotion компании «Emerson Process Management, MicroMotion Inc.», США (по заказу);
- электронасосного агрегата КМ-100-80-170 с электродвигателем АИМ132, ОАО «Промприбор», Россия, или электронасосного агрегата АСВН-80 с электродвигателем ВА132 или электронасосного агрегата СЦН-75/70 с электродвигателем ВА200, или электронасосного агрегата АСВН-80 с электродвигателем ВА132, ОАО «ВЭМЭ», Россия.
Установка экспортного исполнения состоит из следующих сборочных единиц:
- счетчика жидкости типа Р, ЗАО «Нара», Россия;
- фильтров жидкости прямого и углового компании «Policske strojirny a.s.», Чешская Республика;
- сепаратора воздуха компании «Policske strojirny a.s.», Чешская Республика;
- датчика импульсов компании «Veeder - Root», Великобритания;
- клапана гидравлического двухступенчатого V270 компании «Policske strojirny a.s.», Чешская Республика;
- устройства отсчетного «Топаз-106К1-Е» ООО «Топаз-сервис», г. Волгодонск-27, Россия;
- кнопочного поста CSE- PP компании «COR. TEMS. P.A.», Италия;
- коробки клеммной 8146 компании «R. STAHL Schaltgerate GmbH», Германия
- плотномера «ПЛОТ-3М-25» с адаптером АД-3 и с искрозащитным барьером «Бастион-4» ЗАО «ИМПУЛЬС - АВИА», Россия, или счетчика-расходомера массового MicroMotion компании «Emerson Process Management, MicroMotion Inc.», США.
Установки при заказе имеют следующее обозначение:
Установка измерительная модель «Нара-2ХХ ХХХ» ТУ 4213-008-75222876-2007.
где - первое Х - диапазон расхода:
1 - расход от 166 до 500 л/мин (от 133 до 400) кг/мин;
2 - расход от 533 до 2000 л/мин (от 425 до 1600) кг/мин;
3 - расход от 2500 до 4000 л/мин (от 2000 до 3200) кг/мин;
- второе Х - 0 - счетчик жидкости ЗАО «Нара»;
- третье Х - тип электронасосного агрегата:
С - самовсасывающий;
Н - насос несамовсасывающий;
БН - без насоса;
- четвертое Х - П - с плотномером;
- Т - с термодатчиком;
- пятое Х - Э для поставки на экспорт.
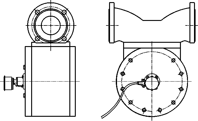
Общий вид установки показан на рисунках 1.1-1.2.
Рисунок 1.1 - Общий вид установки измерительной модель «Нара-210»
Рисунок 1.2 - Общий вид установок измерительных моделей «Нара-220» и «Нара-230»
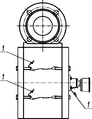
В установках предусмотрено опломбирование измерителя объёма поршневого, микропроцессора электронного отсчетного устройства и указателя суммарного учета.
Схемы пломбирования представлены на рисунках 1.3 - 1.4.
1 - пломба с оттиском клейма поверителя
Рисунок 1.3 - Схема пломбирования счетчика жидкости Р
1 - пломба с оттиском клейма поверителя
Рисунок 1.4 - Схема пломбирования устройства отсчетного
Технические характеристики
|
Установка модель | |||
|
«Нара-210» |
«Нара-220» |
«Нара-230» | |
|
Диапазон расхода нефтепродуктов, л/мин (кг/мин); |
от 166 до500 (от 133 до 400) |
от 533 до 2000 (от 425 до 1600) |
от 2500 до 4000 (от 2000 до 3200) |
|
Наименьшая измеряемая доза, л (кг) |
100 |
100 |
100 |
|
Пределы допускаемой относительной погрешности, %, не более |
± 0,15 |
± 0,15 |
± 0,15 |
|
Сходимость показаний, %, не более |
|0,15| |
|0,15| |
|0,15| |
|
Рабочее давление, МПа : - максимальное - минимальное |
1,0 0,1 |
1,0 0,1 |
1,0 0,1 |
|
Верхний предел показаний указателя разового учета отсчетного устройства, л (кг) |
99 999 |
99 999 |
99 999 |
|
Верхний предел показаний указателя суммарного учета отсчетного устройства, л (кг) |
99 999 999 |
99 999 999 |
99 999 999 |
|
Дискретность отображения информации устройства разового учета, л (кг) |
1 |
1 |
1 |
|
Дискретность отображения информации устройства суммарного учета, л (кг) |
1 |
1 |
1 |
|
Параметры электропитания от сети переменного тока: - напряжение, В - частота, Г ц |
(380) -15% 50 ± 1 |
(380) +10% 50 ± 1 |
(380) +10% 50 ± 1 |
|
Потребляемая мощность, В-А, не более |
100 |
100 |
100 |
|
Установка модель | |||
|
«Нара-210» |
«Нара-220» |
«Нара-230» | |
|
Уровень шума, дБА, не более |
80 |
80 |
80 |
|
Тонкость фильтрования, мкм |
100 |
100 |
100 |
|
Габаритные размеры, мм, не более |
1400x900x1200 |
1450x900x1200 |
2000х950х 2000 |
|
Масса, кг, не более |
600 |
700 |
1000 |
|
Средний срок службы, лет, не менее |
10 |
10 |
10 |
|
Средняя наработка на отказ, ч |
7000 |
7000 |
7000 |
Установки применяются для эксплуатации при температуре окружающего воздуха от минус 40 оС до плюс 50 оС и относительной влажности от 30% до 100% и температуре нефтепродуктов: от плюс 35 оС до минус 40 оС для бензина и от плюс 50 оС до минус 40 оС (или до температуры помутнения или кристаллизации) для дизельного нефтепродуктов и керосина.
Знак утверждения типа
наносится на маркировочную табличку установок фотографическим способом и на титульный лист Руководства по эксплуатации типографским способом.
Комплектность
1 Установка измерительная «Нара-200» (модель по заказу) - 1 шт.
2 Запасные части - 1 комп.
3 Руководство по эксплуатации на установку с Методикой поверки - 1 экз.
4 Эксплуатационная документация на комплектующие изделия - по 1 экз.
Поверка
осуществляется по методике поверки, утвержденной ГЦИ СИ ФГУ «Ростест-Москва» 28 июня
2007 г. и являющейся разделом 11 Руководства по эксплуатации ВФКУ 2.950.413.00 РЭ..
Основное поверочное оборудование:
- весы для статического взвешивания по ГОСТ Р 53228-2008 среднего класса точности с наибольшим пределом взвешивания 3000 кг;
-мерник металлический 2-го разряда вместимостью 2000 л с относительной погрешностью не более ± 0,05% по ГОСТ 8.400-80;
Сведения о методах измерений
Методы измерения объёма и массы нефтепродуктов изложены в Руководстве по эксплуатации ВФКУ 2.950.413.00 РЭ.
Нормативные документы
1. ГОСТ 8.510-2002 «ГСИ. Государственная поверочная схема для средств измерений объёма и массы жидкости».
2. Технические условия ТУ 4213-008-75222876-2007 «Установки измерительные «Нара 200».
Рекомендации к применению
при осуществлении торговли и товарообменных операций.
Смотрите также
