47241-11: АЭ-1 Счетчики электрической энергии однофазные - Производители, поставщики и поверители

Счетчики электрической энергии однофазные АЭ-1

ALL-Pribors default picture
Номер в ГРСИ РФ: 47241-11
Категория: Счетчики электроэнергии
Производитель / заявитель: ЗАО "АПАТОР-ЭЛЕКТРО", г.Москва
Скачать
47241-11: Описание типа
2011-47241-11.pdf
Скачать 202.7 КБ
Свидетельство об утверждении типа СИ Открыть ...
Нет данных о поставщике
Поверка
Счетчики электрической энергии однофазные АЭ-1 поверка на: www.ktopoverit.ru
КтоПоверит
Онлайн-сервис метрологических услуг

Для учета активной электроэнергии в однофазной сети как суммарной активной энергии, так и по отдельным тарифным зонам. Тарифными зонами управляют точные внутренние часы. Обеспечивает также анализ данных по учтенной энергии благодаря регистрации максимальной мощности и профиля нагрузки в определенном интервале времени. Счетчик ведет учет энергии независимо от ее направления.

Информация по Госреестру

Основные данные
Номер по Госреестру 47241-11
Действует по 15.07.2016
Наименование Счетчики электрической энергии однофазные
Модель АЭ-1
Характер производства Серийное
Идентификатор записи ФИФ ОЕИ fc9aa34a-8da0-3c3f-a702-8d9b66fb91ac
Год регистрации 2011
Информация устарела
Общие данные
Технические условия на выпуск ГОСТ 22261-94
Класс СИ 34.01.03
Год регистрации 2011
Страна-производитель  Россия 
Центр сертификации СИ
Наименование центра ГЦИ СИ Ростест-Москва
Адрес центра 117418, г.Москва, Нахимовский пр-т, 31
Руководитель центра Бас Виталий Николаевич
Телефон (8*095) 332-67-77
Факс 124-99-96
Информация о сертификате
Срок действия сертификата 15.07.2016
Номер сертификата 43194
Тип сертификата (C - серия/E - партия) С
Дата протокола Приказ 3542 от 15.07.11 п.36
Производитель / Заявитель

ЗАО "АПАТОР-ЭЛЕКТРО", РОССИЯ, г.Москва

 Россия 

107392, ул.Просторная, д.7, Тел./факс (495) 661-24-31, www.apator.ru, E-mail: 4G@apator.ru

Поверка

Методика поверки / информация о поверке ГОСТ 8.584-04
Межповерочный интервал / Периодичность поверки
16 лет
Зарегистрировано поверок
Найдено поверителей
Успешных поверок (СИ пригодно) 59 (100%)
Неуспешных поверок (СИ непригодно) 0 (0 %)
Актуальность информации 19.04.2026
Найти результаты поверки
Указан в паспорте или на самом приборе

Поверители

КтоПоверит
Онлайн-сервис метрологических услуг
Счетчики электрической энергии однофазные АЭ-1 поверка на: www.ktopoverit.ru
КтоПоверит
Онлайн-сервис метрологических услуг

Скачать

47241-11: Описание типа
2011-47241-11.pdf
Скачать 202.7 КБ
Свидетельство об утверждении типа СИ Открыть ...

Описание типа

Назначение

Счетчик электрической энергии однофазный типа АЭ-1 предназначен для учета активной электроэнергии в однофазной сети как суммарной активной энергии, так и по отдельным тарифным зонам. Тарифными зонами управляют точные внутренние часы.

Счетчик электрической энергии однофазный типа АЭ-1 обеспечивает также анализ данных по учтенной энергии благодаря регистрации максимальной мощности и профиля нагрузки в определенном интервале времени. Счетчик ведет учет энергии независимо от ее направления.

Описание

Принцип действия счетчиков электрической энергии однофазных типа АЭ-1 основан на измерении мощности путем перемножения входных сигналов от датчиков тока и напряжения и преобразовании измеренной мощности в импульсную последовательность, частота которой пропорциональна измеренной мощности. Измерение энергии осуществляется путем подсчета количества импульсов за время измерения. Импульсы поступают на устройство отображения, которое выполнено в виде жидкокристаллического индикатора.

Корпус счетчика выполнен из негорючей пластмассы и отвечает требованиям по степени защиты IP-55, а также имеет элементы для монтажа знаков первичной поверки. Четкий и надежный ЖКИ-экран поочередно отображает данные учета и параметров счетчика. Защищенная пломбой функциональная кнопка обеспечивает удобное обслуживание счетчика. Большая внешняя панель счетчика содержит всю необходимую информацию, касающуюся индивидуальных характеристик счетчика, способа подключения внешних цепей питания и интерфейсов. Счетчик в базовом варианте исполнения имеет ИК-порт и как опцию интерфейсы RS-232 или RS-485 для включения в системы АИИС КУЭ.

Фотография общего вида счетчиков электрической энергии однофазных типа АЭ-1 представлена на рисунке 1.

АЭ-1.

Рисунок 1 Фотография общего вида счетчиков электрической энергии однофазных типа

Программное обеспечение

Система защиты программного обеспечения счетчиков электрической энергии однофазных типа АЭ-1 основана на надежной технологии HASP.

Рисунок 2. Внешний вид HASP-ключа

ИК-порт счетчика обеспечивает доступ для чтения данных и модификации параметров счетчика. Счетчик имеет ряд защит от несанкционированной параметризации.

Дополнительно доступ к режиму параметризации защищает монтажная пломба на функциональной кнопке и восьмизначный пароль в программе. Для увеличения уровня безопасности счетчик имеет функцию идентификации лица, проводящего параметризацию. Для этого клиент получает специальное программное обеспечение, функционирующее исключительно с HASP-ключом. В процессе параметризации неповторимый номер HASP-ключа записывается в постоянную память счетчика.

Счетчики АЭ-1 имеют несколько уровней защиты от несанкционированного доступа к данным и режиму параметризации:

УРОВЕНЬ №1 (HASP C) - (версия ПО не требует ключа) возможно только чтение данных учета. Программное обеспечение можно инсталлировать на ПК или устройствах типа Palmtop.

УРОВЕНЬ №2 (HASP B) - (требует HASP-ключ уровня ,,B” ) возможно чтение данных учета и параметризация счетчика только готовыми файлами параметризации, без возможности изменения в них чего-либо.

УРОВЕНЬ №3 (HASP А) - (требует HASP-ключа уровня ,,A” ) - возможно чтение данных учета и профилей нагрузок, а также свободное создание файлов параметризации в полном диапазоне с возможностью их записи в счетчик.

Ключи, в процессе параметризации счетчика, оставляют характерный, неудаляемый след в его постоянной памяти в форме ID-номеров и ФИО пользователя, а при следующих обращениях к счетчику отображаются данные лица, проводящего последнюю параметризацию.

Главным преимуществом данной функции является полная программная защита от проникновения и изменения каких-либо параметров в счетчиках, а ее многоуровневая структура четко разделяет полномочия отдельных лиц в структуре электросетевой компании.

Ниже представлена структурная схема распределения HASP-ключей в электросетевой компании.

Схема 1. Структура распределения HASP-ключей в электросетевой компании

Кроме программной защиты существует механической защиты параметризации счетчика. реализована кнопкой на внешней панели счетчика.

еще один дополнительный уровень Механическая защита параметризации

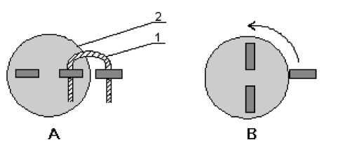
Алгоритм обслуживания кнопки.

Рисунок 3. Алгоритм обслуживания кнопки.

Позиция кнопки A блокирует возможность открытия ИК-порта для параметризации счетчика. Параметризация возможна только в позиции B.

Чтобы перейти в позицию B, в которой существует возможность параметризации, следует:

- снять пломбу и удалить монтажную проволоку (1), далее, повернуть кнопку вправо, на 90°, в позицию B в соответствии с направлением стрелки

- далее следует нажать и придержать кнопку около 3-4 с.

После этого программно открывается ИК-порт для параметризации счетчика на 5 минут.

Дополнительно к защите HASP и механической защите кнопкой в счетчиках присутствует возможность установки индивидуального пароля. Установка пароля производится посредством программного обеспечения KomPaf, используемого для параметризации счетчиков электрической энергии однофазных типа АЭ-1.

Рисунок 4 Внешний вид окна параметризации ПО KomPaf с указанием полей установки пароля.

Уровень защиты программного обеспечения от непреднамеренных и преднамеренных изменений «А» по МИ 3286-2010

Технические характеристики

НАЗВАНИЕ ПАРАМЕТРА

ЗНАЧЕНИЕ ПАРАМЕТРА

АЭ-1........../..1, 2, 5

Включение в сеть

Прямое

Номинальное напряжение, В

220 / 230

Номинальная частота, Гц

50

Базовый ток Ib (Макс. ток Imax), A

5(50), 5(60)

Потребляемая мощность в цепи напряжения, Вт/ВА

не более 0,7 Вт не более 1,2 ВА

Потребляемая мощность в цепи тока, 1В А

0,03

Постоянная счетчика, имп./кВт^ч

6400 (программируемая)

Импульсный выход

ином = 24 В; 1ном = 20 мА

Количество тарифов

4 / 8

Индикатор

Специальный ЖКИ, 8 цифр, программируемая дес.точка

Интерфейсы

ИК-порт, PLC, RF, Ethernet, RS232 или RS485

Индикатор максимальной мощности

Присутствует

Пусковой ток (чувствительность) (м A)

20

Класс точности ( по ГОСТ 52322-2005)

1

Степень защиты корпуса

IP55

Наработка на отказ, ч

145 000

Защита изоляции, класс

II

Габаритные размеры, мм ДхШхГ

166x130x39; 213,3x130x61,7; 220 х 130 х 75,5

Масса, кг (не более)

0,44

Гарантийный срок эксплуатации, лет

3

Срок службы, лет, не менее

30

Условия эксплуатации:

температура окружающего воздуха, C относительная влажность, %, не более атмосферное давление кПа (мм рт. ст.)

минус 40 до плюс 70 90

70 - 106,7 (537 - 800)

Знак утверждения типа

наносят на лицевую панель счетчиков методом трафаретной печати и на титульный лист паспорта типографским способом.

Комплектность

В комплект поставки входят:

- счетчик электрической энергии однофазный АЭ-1                       1 шт.

- крышка зажимной коробки                                          1 шт.

- паспорт                                                                     1 экз.

- коробка упаковочная                                                   1 шт.

- Руководство по эксплуатации «Счетчики электрической энергии однофазные типа АЭ-1 »                                              1 шт.

Поверка

осуществляется по документу ГОСТ 8.584-2004 «ГСИ. Счетчики статические активной электрической энергии переменного тока. Методика поверки».

Сведения о методах измерений

Методы измерений с помощью счетчиков электрической энергии однофазных типа АЭ-1 указаны в документе «Руководство по эксплуатации Счетчики электрической энергии однофазные типа АЭ-1».

Нормативные документы

1 ГОСТ 22261-94 «Средства измерения электрических и магнитных величин. Общие технические условия».

2 ГОСТ Р 52320-2005 (МЭК 62052-11:2003) «Аппаратура для измерения электрической энергии переменного тока. Общие требования. Испытания и условия испытаний. Часть 11. Счетчики электрической энергии».

3 ГОСТ Р 52322-2005 (МЭК 62053-21:2003) «Аппаратура для измерения электрической энергии переменного тока. Частные требования. Часть 21. Статические счетчики активной энергии классов точности 1 и 2».

4 ГОСТ 8.584-2004 «ГСИ. Счетчики статические активной электрической энергии переменного тока. Методика поверки».

Рекомендации к применению

- при выполнении работ по оценке соответствия промышленной продукции и продукции других видов, а также иных объектов установленным законодательством Российской Федерации обязательным требованиям.

Другие Счетчики электроэнергии

Для измерения активной электрической энергии в трехфазных четырехпроводных цепях переменного тока и организации многотарифного учета.
47430-11
НЕВА МТ3 Счетчики электрической энергии трехфазные многотарифные
ООО "Тайпит-Измерительные Приборы" (Тайпит-ИП), г.Санкт-Петербург
Для учета активной или активной и реактивной энергии в трёхфазных трёх- или четырехпроводных цепях переменного тока. Позволяют вести учёт электрической энергии дифференцированно по зонам суток в соответствии с заданным тарифным расписанием. Область п...
47431-11
НЕВА-Тест 3303 Установки автоматические трехфазные для поверки счетчиков электрической энергии
ООО "Тайпит-Измерительные Приборы" (Тайпит-ИП), РОССИЯ, г.С.-Петербург
Для регулировки и поверки трёхфазных и однофазных счетчиков активной, реактивной или активной и реактивной энергии класса точности 0,2S при измерении активной энергии и класса точности 0,5 при измерении реактивной энергии и менее точных, как в автома...
Default ALL-Pribors Device Photo
47560-11
"Меркурий 236" Счетчики электрической энергии статические трехфазные
Общество с ограниченной ответственностью «Научно-производственная компания «Инкотекс» (ООО «НПК «Инкотекс»), г. Москва
Для учёта активной энергии прямого направления или активной энергии прямого направления и реактивной энергии прямого и обратного направлении переменного тока частотой 50 Гц в трёх и четырёхпроводных сетях.
Default ALL-Pribors Device Photo
47835-11
СЭО-1.20Д Счетчики электрической энергии статические
ФГУП "Нижегородский завод им.М.В.Фрунзе" (НЗиФ), РОССИЯ, г.Нижний Новгород
Для учета активной энергии в прямом направлении в однофазных сетях переменного тока частотой 50 Гц.