Счетчики газа бытовые малогабаритные СГБМ
| Номер в ГРСИ РФ: | 57561-14 |
|---|---|
| Категория: | Счетчики газа |
| Производитель / заявитель: | ООО ПКФ "Бетар", г.Чистополь |
Счетчики газа бытовые малогабаритные СГБМ предназначены для измерения объема газа при учете потребления газа индивидуальными потребителями в жилищнокоммунальном и бытовом хозяйстве.
Информация по Госреестру
| Основные данные | |
|---|---|
| Номер по Госреестру | 57561-14 |
| Действует | по 29.04.2029 |
| Наименование | Счетчики газа бытовые малогабаритные |
| Модель | СГБМ |
| Код идентификации производства |
ОС
СИ не соответствует критериям подтверждения производства на территории
РФ в соответствии с постановлением №719
|
| Характер производства | Серийное |
| Идентификатор записи ФИФ ОЕИ | 41aca765-79e1-adb2-a8c4-ec61ff1e388e |
| Год регистрации | 2014 |
| Общие данные | |
|---|---|
| Год регистрации | 2014 |
| Страна-производитель | Россия |
| Информация о сертификате | |
| Срок действия сертификата | 03.06.2019 |
| Тип сертификата (C - серия/E - партия) | C |
| Дата протокола | Приказ 787 п. 48 от 03.06.2014 |
Производитель / Заявитель
Общество с ограниченной ответственностью Производственно-коммерческая фирма «БЕТАР» (ООО ПКФ «БЕТАР»), г. Чистополь, Республика Татарстан
Россия
Поверка
| Методика поверки / информация о поверке | ПДЕК.407292.009 И1 |
| Межповерочный интервал / Периодичность поверки |
12 лет
|
| Зарегистрировано поверок |
1246090
|
| Найдено поверителей | |
| Успешных поверок (СИ пригодно) | 1246052 (100%) |
| Неуспешных поверок (СИ непригодно) | 38 (0 %) |
| Актуальность информации | 24.05.2026 |
Поверители
Скачать
|
57561-14: Описание типа
2024-57561-14.pdf
|
Скачать | 478.2 КБ | |
|
57561-14: Методика поверки
2022-mp57561-14.pdf
|
Скачать | 2.9 MБ |
Описание типа
Назначение
Счетчики газа бытовые малогабаритные СГБМ (далее - счетчики газа) предназначены для измерения объема газа при учете потребления газа индивидуальными потребителями в жилищно-коммунальном и бытовом хозяйстве.
Описание
Принцип действия счетчиков газа основан на изменении пропорционально расходу частоты акустических колебаний газа, проходящего через струйный блок датчика расхода и счете импульсов, производимых датчиком расхода.
Счетчики газа состоят из:
1) датчика расхода газа, находящегося в герметичном корпусе и включающего в себя струйный блок и пневмоэлектропреобразователь;
2) электронного блока, производящего усиление и формирование импульсов счета, и включающего в себя жидкокристаллический индикатор (ЖКИ) и батарею для питания блока электронного и ЖКИ;
3) кожуха.
Счетчики выпускаются в следующих исполнениях:
- типоразмеров: СГБМ-1,6М, СГБМ-2,5, СГБМ-3,2, СГБМ-4;
- классов точности 1,0 и 1,5 по ГОСТ 8.401-80;
- без температурной коррекции и с температурной коррекцией;
- без импульсного выхода и с импульсным выходом;
- без радиоканала и с радиоканалом;
- без проводного цифрового интерфейса и с проводным цифровым интерфейсом.
Исполнение счетчиков газа с температурной коррекцией приводит измеренный объем газа к стандартным условиям по ГОСТ 2939-63 (к температуре Т=20 °С).
Счетчики в исполнении с импульсным выходом оснащены оптроном и позволяют передавать данные о расходе газа (показания счетчика).
Счетчики в исполнении с радиоканалом оснащены радиомодулем и позволяют передавать накопленные счетчиком данные (например, показания счетчика, количество перезагрузок электронного блока счетчика). Счетчики могут иметь дополнительно пломбируемый батарейный отсек с отдельной крышкой для удобства замены элемента питания.
Счетчики в исполнении с проводным цифровым интерфейсом оснащены соответствующим драйвером и позволяет передавать накопленные счетчиком данные (например, показания счетчика, количество перезагрузок электронного блока счетчика) по проводному цифровому интерфейсу.
Заводской номер счетчиков газа, состоящий из восьми арабских цифр, и знак утверждения типа наносятся на лицевую панель счетчиков флексографским способом.
Рисунок 1 - Общий вид счетчиков газа бытовых малогабаритных СГБМ-1,6М
Рисунок 2 - Общий вид счетчиков газа бытовых малогабаритных СГБМ-2,5
Рисунок 3 - Общий вид счетчиков газа бытовых малогабаритных СГБМ-3,2
Рисунок 4 - Общий вид счетчиков газа бытовых малогабаритных СГБМ-4
Газ, проходя через струйный генератор датчика расхода, генерирует в нем акустические колебания с частотой пропорциональной расходу газа. Акустические колебания передаются в пневмоэлектропреобразователь, в котором акустические колебания преобразуются в электрический сигнал. Электрический сигнал поступает в электронный блок, который производит усиление сигнала, формирует импульсы счета, производит подсчет импульсов, переводит полученное количество импульсов в значение потребленного объема газа и выводит это значение на ЖКИ.
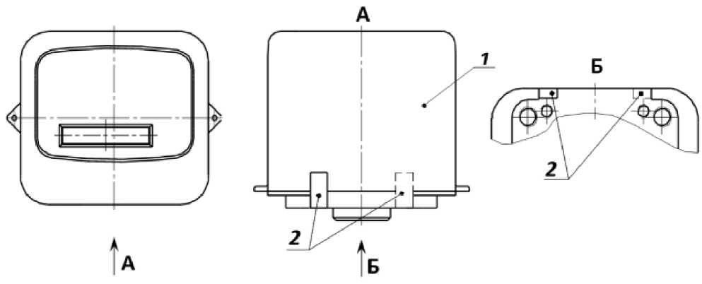
На рисунке 5 приведена схема пломбирования и обозначение мест для нанесения пломбы для защиты от несанкционированного доступа.
где:
1 - счетчик газа,
2 - самоклеящаяся пломба со знаком поверки, предотвращающая демонтаж кожуха и доступ к электронному блоку счетчика.
Рисунок 5 - Схема пломбирования счетчиков газа
Материал самоклеящейся пломбы - разрушаемый при отклеивании и не допускающий повторного наклеивания.
На рисунке 6 приведена схема пломбирования и обозначение мест для нанесения пломбы для защиты от несанкционированного доступа счетчиков в исполнении с радиоканалом с дополнительным пломбируемым батарейным отсеком с отдельной крышкой.
Наклейка со знаком поверки
Отверстия для пломбирования к газопроводу
(пломбирует организация, устанавливающая счетчик!
Пломда батарейного отсека
(пломбирует изготовитель
или организация, заменяющая батарею)
Рисунок 6 - Схема пломбирования счетчиков газа в исполнении с радиоканалом с дополнительным пломбируемым батарейным отсеком с отдельной крышкой
Программное обеспечение
Таблица 1 - Идентификационные данные программного обеспечения (ПО) для счетчиков газа СГБМ-1,6М
|
Идентификационные данные (признаки) |
Значение | |
|
модификации электронных блоков КВ.469335.038, СЭТ.469333.003 и СЭТ.469333.029 | ||
|
Идентификационное наименование ПО |
CGb | |
|
Номер версии (идентификационный номер) ПО |
U3.108 | |
|
Цифровой идентификатор ПО |
9A1d | |
|
Алгоритм вычисления цифрового идентификатора ПО |
CRC16 | |
|
модификация электронного блока ПДЕК.467416.001 | ||
|
Идентификационное наименование ПО |
ПО СГ-1.6 | |
|
Номер версии (идентификационный номер) ПО |
1.00 | |
|
Цифровой идентификатор ПО |
7dEA | |
|
Алгоритм вычисления цифрового идентификатора ПО |
CRC16 | |
|
модификация электронного блока ОСДМ.070506.000 | ||
|
Идентификационное наименование ПО |
ПО СГБ 1.6 |
ПО СГБ 3.2 |
|
Номер версии (идентификационный номер) ПО |
ВЕР 1.3 |
ВЕР 1.09 |
|
Цифровой идентификатор ПО |
89ed3d42* |
106C6ded* |
|
Алгоритм вычисления цифрового идентификатора ПО |
MD5 | |
|
модификация электронного блока ПГКД.467414.100 | ||
|
Идентификационное наименование ПО |
СГБ-1.6 | |
|
Номер версии (идентификационный номер) ПО |
1.022 | |
|
Цифровой идентификатор ПО |
85b50046 | |
|
Алгоритм вычисления цифрового идентификатора ПО |
CRC32 | |
|
Идентификационные данные (признаки) |
Значение |
|
модификация электронного блока ПГКД.467414.109 | |
|
Идентификационное наименование ПО |
СГБ-1.6 |
|
Номер версии (идентификационный номер) ПО |
2.028 |
|
Цифровой идентификатор ПО |
8FE3F0b7 |
|
Алгоритм вычисления цифрового идентификатора ПО |
CRC32 |
|
модификация электронного блока ПДЕК.467416.002 | |
|
Идентификационное наименование ПО |
ПО СГ-4.0 |
|
Номер версии (идентификационный номер) ПО |
* ** 1.xx |
|
Цифровой идентификатор ПО |
_ |
|
Алгоритм вычисления цифрового идентификатора ПО |
_ |
|
* на ЖКИ счетчика газа отображаются только последние 8 цифр цифрового идентификатора ПО, вычисляемого по алгоритму MD5. * * «х» может принимать значения от 0 до 9 и не относится к метрологически значимой части ПО. | |
Таблица 2 - Идентификационные данные программного обеспечения (ПО) для счетчиков газа СГБМ-2,5
|
Идентификационные данные (признаки) |
Значение |
|
модификации электронных блоков КВ.469335.038, СЭТ.469333.003 и СЭТ.469333.029 | |
|
Идентификационное наименование ПО |
CGb |
|
Номер версии (идентификационный номер) ПО |
U3.108 |
|
Цифровой идентификатор ПО |
9A1d |
|
Алгоритм вычисления цифрового идентификатора ПО |
CRC16 |
|
модификация электронного блока ОСДМ.070506.000 | |
|
Идентификационное наименование ПО |
ПО СГБ 3.2 |
|
Номер версии (идентификационный номер) ПО |
ВЕР 1.09 |
|
Цифровой идентификатор ПО |
106C6ded* |
|
Алгоритм вычисления цифрового идентификатора ПО |
MD5 |
|
модификация электронного блока ПГКД.467414.109 | |
|
Идентификационное наименование ПО |
СГБ-2.5 |
|
Номер версии (идентификационный номер) ПО |
2.028 |
|
Цифровой идентификатор ПО |
8FE3F0b7 |
|
Алгоритм вычисления цифрового идентификатора ПО |
CRC32 |
|
модификация электронного блока ПДЕК.467416.002 | |
|
Идентификационное наименование ПО |
ПО СГ-4.0 |
|
Номер версии (идентификационный номер) ПО |
. ** 1.xx |
|
Цифровой идентификатор ПО |
_ |
|
Алгоритм вычисления цифрового идентификатора ПО |
_ |
|
* на ЖКИ счетчика газа отображаются только последние 8 цифр цифрового идентификатора ПО, вычисляемого по алгоритму MD5. * * «х» может принимать значения от 0 до 9 и не относится к метрологически значимой части ПО. | |
Таблица 3 - Идентификационные данные программного обеспечения (ПО) для счетчиков газа СГБМ-3,2
|
Идентификационные данные (признаки) |
Значение |
|
модификации электронных блоков КВ.469335.038, СЭТ.469333.003 и СЭТ.469333.029 | |
|
Идентификационное наименование ПО |
CGb |
|
Номер версии (идентификационный номер) ПО |
U3.108 |
|
Цифровой идентификатор ПО |
9A1d |
|
Алгоритм вычисления цифрового идентификатора ПО |
CRC16 |
|
модификация электронного блока ОСДМ.070506.000 | |
|
Идентификационное наименование ПО |
ПО СГБ 3.2 |
|
Номер версии (идентификационный номер) ПО |
ВЕР 1.09 |
|
Цифровой идентификатор ПО |
106C6ded* |
|
Алгоритм вычисления цифрового идентификатора ПО |
MD5 |
|
модификация электронного блока ПГКД.467414.109 | |
|
Идентификационное наименование ПО |
СГБ-3.2 |
|
Номер версии (идентификационный номер) ПО |
2.028 |
|
Цифровой идентификатор ПО |
8FE3F0b7 |
|
Алгоритм вычисления цифрового идентификатора ПО |
CRC32 |
|
модификация электронного блока ПДЕК.467416.002 | |
|
Идентификационное наименование ПО |
ПО СГ-4.0 |
|
Номер версии (идентификационный номер) ПО |
. ** 1.xx |
|
Цифровой идентификатор ПО |
_ |
|
Алгоритм вычисления цифрового идентификатора ПО |
_ |
|
* на ЖКИ счетчика газа отображаются только последние 8 цифр цифрового идентификатора ПО, вычисляемого по алгоритму MD5. * * «х» может принимать значения от 0 до 9 и не относится к метрологически значимой части ПО. | |
Таблица 4 - Идентификационные данные программного обеспечения (ПО) для счетчиков газа СГБМ-4
|
Идентификационные данные (признаки) |
Значение |
|
модификации электронных блоков СЭТ.469333.003 и СЭТ.469333.029 | |
|
Идентификационное наименование ПО |
CGb |
|
Номер версии (идентификационный номер) ПО |
U3.108 |
|
Цифровой идентификатор ПО |
9A1d |
|
Алгоритм вычисления цифрового идентификатора ПО |
CRC16 |
|
модификация электронного блока ПДЕК.467416.002 | |
|
Идентификационное наименование ПО |
ПО СГ-4.0 |
|
Номер версии (идентификационный номер) ПО |
1.xx* |
|
Цифровой идентификатор ПО |
_ |
|
Алгоритм вычисления цифрового идентификатора ПО |
_ |
|
* «х» может принимать значения от 0 до 9 и не относится к метрологически значимой части ПО. | |
Метрологические характеристики счетчиков газа нормированы с учетом влияния ПО.
Конструкция счетчиков газа исключает возможность несанкционированного влияния на ПО счетчиков и измерительную информацию.
Защита ПО от непреднамеренных и преднамеренных изменений соответствует уровню «высокий» в соответствии с пунктом 4.3 Р 50.2.077-2014.
Технические характеристики
|
Таблица 5- Метрологические характе |
ристики | |||
|
Наименование характеристики |
Значение | |||
|
СГБМ-1,6М |
СГБМ-2,5 |
СГБМ-3,2 |
СГБМ-4 | |
|
Максимальный расход Qмакс, м3/ч |
1,6 |
2,50 |
3,20 |
4,0 |
|
Номинальный расход Q№m, м3/ч |
0,8 |
1,20 |
1,60 |
2,0 |
|
Минимальный расход, QMHH, м3/ч |
0,04 |
0,04 |
0,04 |
0,04 |
|
Порог чувствительности, м3/ч, не более |
0,025 |
0,04 |
0,04 |
0,04 |
|
Пределы допускаемой основной относительной погрешности измерений при нормальных условиях, %, в диапазоне расходов: от Qмин до 0,2^ Qмакс от 0,2^макс до Qмакс включительно для класса точности 1,0 для класса точности 1,5 |
±2,5 ±1,0 ±1,5 | |||
|
Пределы допускаемой дополнительной относительной погрешности, вызванной отклонением температуры окружающего воздуха от нормальной на каждые 10 °С изменения температуры в пределах рабочего интервала температур, % |
±1,5 | |||
Таблица 6 - Основные технические характеристики
|
Наименование характеристики |
Значение | |||
|
СГБМ-1,6М |
СГБМ-2,5 |
СГБМ-3,2 |
СГБМ-4 | |
|
Номинальный диаметр, DN |
15 |
20 | ||
|
Перепад давления на максимальном расходе Qмакс, мм вод. ст. (кПа), не более |
160 (1,6) | |||
|
Рабочее давление измеряемой среды, кПа, не более |
5,0 | |||
|
Емкость отсчетного устройства, не менее |
99999,999 | |||
|
Температура измеряемой среды, °С |
от -10 до +50 | |||
|
Масса, кг, не более |
0,67 | |||
|
Габаритные размеры (ВысотахШиринахДлина), мм, не более |
70х100х80 | |||
|
Условия эксплуатации: - температура окружающего воздуха, °С - влажность при температуре не более 35 °С, %, не более - атмосферное давление, кПа |
от -10 до +50 95 от 84 до 106,7 | |||
|
Наименование характеристики |
Значение |
|
СГБМ-1,6М СГБМ-2,5 СГБМ-3,2 СГБМ-4 | |
|
Средняя наработка на отказ, ч, не более |
110 000 |
|
Срок службы, лет, не менее |
12 |
Знак утверждения типа
наносится на лицевую панель счетчиков газа флексографским способом и на титульный лист руководства по эксплуатации типографским способом.
Комплектность
Таблица 7 - Комплектность средства измерений
|
Наименование |
Обозначение |
Количество, шт. |
Примечание |
|
Счетчик газа бытовой малогабаритный СГБМ |
Согласно исполнению |
1 | |
|
Тройник или тройник с накидной гайкой или тройник с двумя накидными гайками Тройник фланцевый* |
_ |
1 |
По заказу потребителя поставляется в отдельной упаковке |
|
Прокладка |
_ |
1 | |
|
Прокладка паронитовая |
_ |
1 |
Поставляется вместе с тройником с накидной гайкой |
|
2 |
Поставляется вместе с тройником с двумя накидными гайками | ||
|
Руководство по эксплуатации |
ПДЕК.407292.009 РЭ |
1 | |
|
Комплект монтажных частей: - пломба - проволока |
_ |
1 0,4 м | |
|
*только для счетчиков газа типоразмера СГБМ-4. | |||
Сведения о методах измерений
приведены в п. 5 «Устройство и принцип действия» ПДЕК.407292.009 РЭ «Счетчик газа бытовой малогабаритный СГБМ. Руководство по эксплуатации».
Нормативные документы
Приказ Федерального агентства по техническому регулированию и метрологии от 11 мая 2022 г. № 1133 «Об утверждении Государственной поверочной схемы для средств измерений объемного и массового расхода газа»;
ПДЕК.407292.001 ТУ Счетчики газа бытовые малогабаритные СГБМ. Технические условия.

