Газоанализаторы стационарные «Сектор-2»
| Номер в ГРСИ РФ: | 61046-15 |
|---|---|
| Категория: | Газоанализаторы |
| Производитель / заявитель: | ООО "Промэкоприбор", г.С.-Петербург |
|
61046-15: Описание типа
2025-61046-15-5.pdf
|
Скачать | 383.8 КБ | |
|
61046-15: Описание типа
2015-61046-15-3.pdf
|
Скачать | 115 КБ | |
|
61046-15: Описание типа
2025-61046-15-6.pdf
|
Скачать | 383.4 КБ | |
|
61046-15: Описание типа
2025-61046-15-7.pdf
|
Скачать | 382.3 КБ | |
|
61046-15: Методика поверки
ПЭП-МП-004-2015
2021-mp61046-15-4.pdf
|
Скачать | 702 КБ |
Газоанализаторы стационарные «Сектор-2» (далее - газоанализаторы) предназначены для непрерывных автоматических измерений довзрывоопасных концентраций метана (СН4), пропана (С3Н8), бутана (С4Н10), пентана (С5Н12) или гексана (СбНм) в воздухе рабочей зоны.
Информация по Госреестру
| Основные данные | |
|---|---|
| Номер по Госреестру | 61046-15 |
| Действует | по 30.06.2030 |
| Наименование | Газоанализаторы стационарные |
| Модель | «Сектор-2» |
| Приказы |
№1746 от
25.08.2025
— О внесении изменений в сведения об утвержденных типах средств измерений
№2079 от
29.09.2025
— О внесении изменений в сведения об утвержденных типах средств измерений
№2498 от
19.11.2025
— О внесении изменений в сведения об утвержденных типах средств измерений
|
| Код идентификации производства |
ОС
СИ не соответствует критериям подтверждения производства на территории
РФ в соответствии с постановлением №719
|
| Характер производства | Серийное |
| Идентификатор записи ФИФ ОЕИ | 999ec462-5573-24b6-ea16-b8128d57394f |
Производитель / Заявитель
ООО «Промэкоприбор», РОССИЯ, 194100, г. Санкт-Петербург, ул. Литовская, д. 10, лит. А, пом. 2-Н
Поверка
| Методика поверки / информация о поверке |
ПЭП-МП-004-2015 Газоанализаторы стационарные СЕКТОР-2 Методика поверки
|
| Межповерочный интервал / Периодичность поверки |
1 год
|
| Зарегистрировано поверок | |
| Найдено поверителей | |
| Успешных поверок (СИ пригодно) | 173 (92%) |
| Неуспешных поверок (СИ непригодно) | 16 (8 %) |
| Актуальность информации | 28.12.2025 |
Поверители
Скачать
|
61046-15: Описание типа
2015-61046-15.pdf
Файл устарел
|
Скачать | 115 КБ | |
|
61046-15: Методика поверки
2021-mp61046-15.pdf
Файл устарел
|
Скачать | 702 КБ | |
|
61046-15: Описание типа
2015-61046-15-1.pdf
Файл устарел
|
Скачать | 115 КБ | |
|
61046-15: Описание типа
2025-61046-15.pdf
Файл устарел
|
Скачать | 383.4 КБ | |
|
61046-15: Методика поверки
2021-mp61046-15-1.pdf
Файл устарел
|
Скачать | 702 КБ | |
|
61046-15: Описание типа
2025-61046-15-1.pdf
Файл устарел
|
Скачать | 383.4 КБ | |
|
61046-15: Описание типа
2015-61046-15-2.pdf
Файл устарел
|
Скачать | 115 КБ | |
|
61046-15: Описание типа
2025-61046-15-2.pdf
Файл устарел
|
Скачать | 383.8 КБ | |
|
61046-15: Методика поверки
ПЭП-МП-004-2015
2021-mp61046-15-2.pdf
Файл устарел
|
Скачать | 702 КБ | |
|
61046-15: Описание типа
2025-61046-15-3.pdf
Файл устарел
|
Скачать | 383.4 КБ | |
|
61046-15: Описание типа
2025-61046-15-4.pdf
Файл устарел
|
Скачать | 383.8 КБ | |
|
61046-15: Методика поверки
ПЭП-МП-004-2015
2021-mp61046-15-3.pdf
Файл устарел
|
Скачать | 702 КБ | |
|
61046-15: Описание типа
2025-61046-15-5.pdf
|
Скачать | 383.8 КБ | |
|
61046-15: Описание типа
2015-61046-15-3.pdf
|
Скачать | 115 КБ | |
|
61046-15: Описание типа
2025-61046-15-6.pdf
|
Скачать | 383.4 КБ | |
|
61046-15: Описание типа
2025-61046-15-7.pdf
|
Скачать | 382.3 КБ | |
|
61046-15: Методика поверки
ПЭП-МП-004-2015
2021-mp61046-15-4.pdf
|
Скачать | 702 КБ |
Описание типа
Назначение
Газоанализаторы стационарные «Сектор-2» (далее - газоанализаторы) предназначены для непрерывных автоматических измерений довзрывоопасных концентраций метана (СН4), пропана (С3Н8), бутана (С4Н10), пентана (С5Н12) или гексана (С6Н14) в воздухе рабочей зоны.
Описание
Газоанализаторы являются стационарными автоматическими одноканальными приборами непрерывного действия.
Принцип действия газоанализаторов - оптический инфракрасный абсорбционный.
Способ отбора пробы - диффузионный либо принудительный с помощью внешнего побудителя расхода или от газовой магистрали с избыточным давлением при условии комплектования газоанализатора потоковой насадкой.
Конструктивно газоанализаторы выполнены в корпусе из армированной антистатической пластмассы, состоящем из основания и крышки, герметично соединенных между собой. Внутри корпуса размещено микропроцессорное устройство управления. На нижней боковой поверхности корпуса закреплен чувствительный элемент газоанализатора -инфракрасный оптический датчик, расположенный в защитном металлическом колпаке.
Газоанализаторы имеют унифицированный аналоговый выходной сигнал постоянного тока от 4 до 20 мА по ГОСТ 26.011-80.
Газоанализаторы предназначены для работы в качестве первичных измерительных преобразователей (ПИП) в составе автоматизированных газоаналитических систем, допускающих подключение ПИП к блокам управления, питания и сигнализации посредством двухпроводной токовой петли от 4 до 20 мА.
Для проведения работ по техническому обслуживанию, корректировке показаний (градуировке) и поверке газоанализаторы оснащены цифровым выходом (интерфейс RS-485), предназначенным для подключения внешнего контрольного пульта «Сектор-П».
Газоанализаторы выпускаются в пяти исполнениях, указанных в таблице 2, отличающихся определяемым компонентом (горючим газом, по которому выполнена градуировка).
Газоанализаторы выполнены во взрывозащищенном исполнении, соответствуют требованиям ТР ТС 012/2011, ГОСТ 31610.0-2019 (IEC 60079-0:2017), ГОСТ 31610.11-2014 (IEC 60079-11:2011).
Газоанализаторы соответствуют требованиям к электромагнитной совместимости для оборудования класса А по ГОСТ Р МЭК 61326-1-2014.
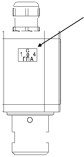
Общий вид газоанализаторов представлен на рисунке 1.
Конструкцией газоанализаторов предусмотрена защита и пломбировка электронной платы газоанализатора от несанкционированного доступа в местах установки одного из винтовых соединений. Схема пломбировки и размещения оттиска клейма поверителя приведена на рисунке 2.
Знак утверждения типа и заводской номер в виде цифрового обозначения, состоящего из арабских цифр, наносятся методом металлографики на информационную табличку (шильд), расположенную на передней панели газоанализатора (рис. 1).
Место нанесения заводского номера
Место нанесения знака утверждения типа
Пронжоприбор ООО ТТроммоприбор' wwwjronwoopctwrnj г Свжт-Летербург
Газоанализатор стационарный “СЕКТОР-2” rW.413331.002 ТУ «цмаХ/i
ОСКИПЯИИОТРИ-
Рисунок 1 - Общий вид газоанализаторов
Место размещения клейма поверителя
Место размещения защитной пломбы (крышка корпуса снята)
Рисунок 2 - Схема пломбировки газоанализаторов от несанкционированного доступа и размещения оттиска клейма поверителя
Программное обеспечение
Основные функции программного обеспечения (далее - ПО):
- считывание цифрового выходного сигнала первичного преобразователя газоанализатора и преобразование в значение содержания определяемого компонента;
- выдача цифрового сигнала для формирования по измерительному каналу выходного сигнала от 4 до 20 мА, пропорционального содержанию определяемого компонента;
- передача измеренных значений и данных об исправности газоанализатора по запросу внешнего устройства (ВУ), осуществляемая по цифровому каналу связи RS-485;
- управление режимами работы газоанализатора (предварительная конфигурация, корректировка показаний газоанализатора, градуировка и т.д.) в соответствии с командами с ВУ;
- контроль целостности программных кодов ПО, настроечных и градуировочных констант.
Уровень защиты встроенного ПО «высокий» в соответствии с Р 50.2.077-2014.
Влияние ПО газоанализаторов учтено при нормировании метрологических характеристик.
Идентификационные данные ПО приведены в таблице 1.
Таблица 1 - Идентификационные данные ПО
|
Идентификационные данные (признаки) |
Значение |
|
Идентификационное наименование ПО |
Sector2.hex |
|
Номер версии (идентификационный номер) ПО, не ниже |
1.01 |
|
Цифровой идентификатор ПО |
0AA9C15A |
|
Алгоритм вычисления цифрового идентификатора ПО |
CRC32 |
Технические характеристики
Определяемые компоненты, диапазоны измерений и пределы допускаемой основной погрешности газоанализаторов, в зависимости от исполнения, приведены в таблице 2.
Таблица 2 - Перечень исполнений, диапазоны измерений и пределы допускаемой основной погрешности газоанализаторов
|
Обозначение исполнения |
Определяемый компонент |
Диапазон измерений |
Пределы допускаемой основной погрешности | ||
|
% НКПР |
% об. доли |
абсолютная, % НКПР |
относительная, % | ||
|
ПЛЦК.413331.002-01 |
Метан (CH4) |
от 0 до 50 включ. |
от 0 до 2,2 включ. |
±2,5 |
- |
|
св. 50 до 100 |
св. 2,2 до 4,4 |
- |
±5 | ||
|
ПЛЦК.413331.002-02 |
Пропан (C3H8) |
от 0 до 50 включ. |
от 0 до 0,85 включ. |
±5 |
- |
|
св. 50 до 100 |
св. 0,85 до 1,7 |
- |
±10 | ||
|
ПЛЦК.413331.002-03 |
Бутан (C4H10) |
от 0 до 50 включ. |
от 0 до 0,7 включ. |
±5 |
- |
|
св. 50 до 100 |
св. 0,7 до 1,4 |
- |
±10 | ||
|
ПЛЦК.413331.002-04 |
Пентан (C5H12) |
от 0 до 50 |
от 0 до 0,7 |
±5 |
- |
|
ПЛЦК.413331.002-05 |
Гексан (СбН14) |
от 0 до 50 |
от 0 до 0,5 |
±5 |
- |
Таблица 3 - Метрологические характеристики
|
Наименование характеристики |
Значение |
|
Диапазон показаний для всех исполнений газоанализаторов, % НКПР |
от 0 до 100 |
|
Предел допускаемой вариации выходного сигнала газоанализаторов, в долях от пределов допускаемой основной погрешности |
0,5 |
|
Пределы допускаемой дополнительной погрешности от изменения температуры окружающей и анализируемой сред в пределах рабочих условий эксплуатации от температуры, при которой определялась основная погрешность, на каждые 10 °С, в долях от пределов допускаемой основной погрешности |
± 1,0 |
|
Пределы допускаемой дополнительной погрешности от изменения атмосферного давления в пределах рабочих условий эксплуатации от номинального значения давления 101,3 кПа, в долях от пределов допускаемой основной погрешности |
± 0,5 |
|
Пределы допускаемой дополнительной погрешности от изменения относительной влажности окружающей и анализируемой сред в пределах рабочих условий эксплуатации от номинального значения влажности 65 % при температуре 35 °С, в долях от пределов допускаемой основной погрешности |
± 0,5 |
|
Предел допускаемого времени установления выходного сигнала, Т90, с, не более |
30 |
Газоанализаторы устойчивы к воздействию неизмеряемых компонентов с содержанием, указанным в таблице 4.
Таблица 4 - Допускаемое содержание неизмеряемых компонентов
|
Неизмеряемый компонент |
Единица физической величины |
Допускаемое содержание неизмеряемого компонента |
|
Оксид углерода (СО) |
мг/м3 |
200 |
|
Диоксид углерода (СО2) |
% (об. доля) |
20 |
|
Оксид азота (NO) |
мг/м3 |
50 |
|
Диоксид азота (NO2) |
мг/м3 |
20 |
|
Сернистый ангидрид (SO2) |
мг/м3 |
100 |
|
Сероводород(H2S) |
мг/м3 |
100 |
|
Аммиак (NH3) |
мг/м3 |
200 |
|
Хлористый водород (HCl) |
мг/м3 |
50 |
|
Хлор (CI2) |
мг/м3 |
10 |
Таблица 5 - Основные технические характеристики
|
Наименование характеристики |
Значение |
|
Время прогрева газоанализаторов, с, не более |
60 |
|
Предел допускаемого интервала времени работы газоанализаторов без корректировки показаний по газовым смесям, месяцев, не менее |
6 |
|
Параметры электрического питания - напряжение постоянного тока, В - постоянный ток, мА, не более |
от 10 до 30 24 |
|
Потребляемая мощность, Вт, не более |
0,72 |
|
Габаритные размеры (ДхВхШ), мм, не более |
93,5x141,5x57 |
|
Масса, г, не более |
560 |
|
Условия эксплуатации: - температура окружающей и анализируемой сред, °С - атмосферное давление, кПа - относительная влажность, при температуре 35 °С и более низких температурах без конденсации влаги, % |
от -40 до +60 от 84,0 до 106,7 от 0 до 95 |
|
Маркировка взрывозащиты |
0Ex ia IIB T4 Ga X |
|
Степень защиты корпуса по ГОСТ 14254-2015 (IEC 60529:2013) |
IP66 |
Таблица 6 - Показатели надежности
|
Наименование характеристики |
Значение |
|
Средняя наработка на отказ, ч, не менее |
50000 |
|
Средний срок службы, лет, не менее |
10 |
Знак утверждения типа
наносится типографским способом на титульный лист Руководства по эксплуатации и методом металлографики на информационную табличку (шильд), расположенную на передней панели газоанализатора.
Комплектность
Таблица 7 - Комплектность средства измерений
|
Наименование |
Обозначение |
Количество |
|
Газоанализатор стационарный |
«Сектор-2» |
1 шт. |
|
исполнения: |
ПЛЦК.413331.002-01 |
по заказу |
|
ПЛЦК.413331.002-02 |
по заказу | |
|
ПЛЦК.413331.002-03 |
по заказу | |
|
ПЛЦК.413331.002-04 |
по заказу | |
|
ПЛЦК.413331.002-05 |
по заказу | |
|
Адаптер для подачи газа в комплекте с трубкой ПВХ, 1,5 м |
ПЛЦК.064529.001 |
1 шт. на партию приборов или по заказу |
|
Пульт контрольный «Сектор-П» |
ПЛЦК.425671.001 |
по заказу |
|
Насадка потоковая |
ПЛЦК.067559.011 |
по заказу |
|
Комплект ЗИП |
- |
1 компл. |
|
Паспорт (на бумажном носителе) |
ПЛЦК.413331.002 ПС |
1 экз. |
|
Руководство по эксплуатации (на электронном носителе) |
ПЛЦК.413331.002 РЭ |
1 шт. |
Сведения о методах измерений
приведены в документе ПЛЦК.413331.002 РЭ «Газоанализаторы стационарные «Сектор-2».
Руководство по эксплуатации», раздел 2 «Использование по назначению».
Нормативные документы
Приказ Федерального агентства по техническому регулированию и метрологии от 31 декабря 2020 г. № 2315 «Об утверждении Государственной поверочной схемы для средств измерений содержания компонентов в газовых и газоконденсатных средах»
ГОСТ 13320-81 «Газоанализаторы промышленные автоматические. Общие технические условия»
ГОСТ 27540-87 «Газоанализаторы горючих газов и паров термохимические. Общие технические условия»
ГОСТ Р 52350.29.1-2010 (МЭК 60079-29-1:2007) «Взрывоопасные среды. Часть 29-1. Газоанализаторы. Общие технические требования и методы испытаний газоанализаторов горючих газов»
ГОСТ Р 52350.29.2-2010 (МЭК 60079-29-2:2007) «Взрывоопасные среды. Часть 29-2. Газоанализаторы. Требования к выбору, монтажу, применению и техническому обслуживанию газоанализаторов горючих газов и кислорода»
ГОСТ 31610.0-2019 (IEC 60079-0:2017) «Взрывоопасные среды. Часть 0. Оборудование. Общие требования»
ГОСТ 31610.10-1-2022 (IEC 60079-10-1:2020) «Взрывоопасные среды. Часть 10-1. Классификация зон. Взрывоопасные газовые среды»
ГОСТ 31610.11-2014 (IEC 60079-11:2011) «Взрывоопасные среды. Часть 11.
Оборудование с видом взрывозащиты «искробезопасная электрическая цепь «i»
ГОСТ 30805.22-2013 (CISPR 22:2006) «Совместимость технических средств электромагнитная. Оборудование информационных технологий. Радиопомехи индустриальные. Нормы и методы измерений»
ПЛЦК.413331.002 ТУ «Газоанализаторы стационарные «Сектор-2». Технические условия»

