64898-16: Система измерений количества и показателей качества нефти № 36 на ЛПДС "Лопатино" АО "Транснефть - Дружба" - Производители, поставщики и поверители

Система измерений количества и показателей качества нефти № 36 на ЛПДС "Лопатино" АО "Транснефть - Дружба"

ALL-Pribors default picture
Номер в ГРСИ РФ: 64898-16
Производитель / заявитель: АО "Транснефть-Дружба", г.Брянск
Скачать
64898-16: Описание типа
2022-64898-16.pdf
Скачать 432.9 КБ
64898-16: Методика поверки
2022-mp64898-16.pdf
Скачать 9 MБ
Нет данных о поставщике
Поверка
Система измерений количества и показателей качества нефти № 36 на ЛПДС "Лопатино" АО "Транснефть - Дружба" поверка на: www.ktopoverit.ru
КтоПоверит
Онлайн-сервис метрологических услуг

Система измерений количества и показателей качества нефти № 36 на ЛПДС «Лопатино» АО «Транснефть - Дружба» (далее - система) предназначена для автоматизированных измерений массы и показателей качества нефти, при проведении учетных операций между АО «Транснефть - Дружба» и АО «Транснефть - Прикамье».

Информация по Госреестру

Основные данные
Номер по Госреестру 64898-16
Наименование Система измерений количества и показателей качества нефти № 36 на ЛПДС "Лопатино" АО "Транснефть - Дружба"
Характер производства Единичное
Идентификатор записи ФИФ ОЕИ 8c85916f-7ec7-5d5a-2206-885a60fe7833
Испытания
Дата Модель Заводской номер
зав.№ 36
Производитель / Заявитель

АО "Транснефть - Дружба", РОССИЯ, г.Брянск

Поверка

Межповерочный интервал / Периодичность поверки
1 год
Зарегистрировано поверок
Найдено поверителей
Успешных поверок (СИ пригодно) 60 (100%)
Неуспешных поверок (СИ непригодно) 0 (0 %)
Актуальность информации 22.03.2026
Найти результаты поверки
Указан в паспорте или на самом приборе

Поверители

КтоПоверит
Онлайн-сервис метрологических услуг
Система измерений количества и показателей качества нефти № 36 на ЛПДС "Лопатино" АО "Транснефть - Дружба" поверка на: www.ktopoverit.ru
КтоПоверит
Онлайн-сервис метрологических услуг

Скачать

64898-16: Описание типа
2022-64898-16.pdf
Скачать 432.9 КБ
64898-16: Методика поверки
2022-mp64898-16.pdf
Скачать 9 MБ

Описание типа

Назначение

Система измерений количества и показателей качества нефти № 36 на ЛПДС «Лопатино» АО «Транснефть - Дружба» (далее - система) предназначена для автоматизированных измерений массы и показателей качества нефти при проведении учетных операций между АО «Транснефть - Дружба» и АО «Транснефть - Прикамье».

Описание

Принцип действия системы основан на использовании косвенного метода динамических измерений массы брутто нефти, основанного на измерениях объема нефти с применением преобразователей расхода, плотности нефти с применением преобразователя плотности или в лаборатории, температуры и давления нефти с применением датчиков температуры и преобразователей избыточного давления. Массу брутто нефти вычисляет измерительновычислительный контроллер, как произведение объёма и плотности нефти, приведённых к стандартным условиям. Массу нетто нефти вычисляет АРМ оператора, как разность массы брутто нефти и массы балласта, используя результаты измерений массовой доли механических примесей и массовой концентрации хлористых солей в лаборатории, массовой доли воды, определенной в лаборатории или определенной по результатам измерений объёмной доли воды с помощью влагомера нефти поточного.

Система представляет собой единичный экземпляр измерительной системы целевого назначения, спроектированной для конкретного объекта и состоящей из блока измерительных линий, блока измерений показателей качества нефти, трубопоршневой установки, системы обработки информации и системы дренажа. Монтаж и наладка системы осуществлены непосредственно на объекте эксплуатации в соответствии с проектной и эксплуатационной документацией на систему и ее компоненты. В состав системы входят измерительные каналы (ИК) объемного расхода нефти, плотности и вязкости, определение метрологических характеристик которых осуществляется комплектным способом при проведении поверки системы.

В систему входят следующие измерительные компоненты:

- преобразователи расхода жидкости турбинные HELIFLU TZ-N (далее - ПР), регистрационный номер в государственном реестре средств измерений Федерального информационного фонда по обеспечению единства измерений (далее - регистрационный) № 15427-96;

- преобразователь расхода роторный TOKICO (далее - ПР), год выпуска 1976, с заводским № 52454/FS-502A;

- преобразователи плотности жидкости измерительные модели 7835 (далее - ПП), регистрационный № 15644-01;

- преобразователи плотности и вязкости жидкости измерительные модели 7827 (далее -ПВ), регистрационный № 15642-01;

- влагомеры нефти поточные УДВН-1пм, регистрационный № 14557-05, 14557-10;

- расходомер UFM 3030К, регистрационный № 32562-06;

- преобразователь температуры Метран-280-Ex, регистрационный № 23410-13;

- преобразователи давления измерительные EJA модели  110, регистрационный

№ 14495-00, 14495-09;

- преобразователи давления измерительные EJA модели 530, регистрационный

№ 14495-00, 14495-09;

- преобразователи давления измерительные EJX 430 А, регистрационный № 28456-04, 28456-09;

- термопреобразователи с унифицированным выходным сигналом ТСПУ 902820, регистрационный № 32460-06;

- термопреобразователи сопротивления типа TR модификации 200, регистрационный № 17622-98;

- преобразователи вторичные для термометров сопротивления и термоэлектрических термометров типа Т модификации 31, регистрационный № 15153-98.

В систему сбора и обработки информации системы входят:

- контроллеры измерительно-вычислительные OMNI-6000 (основной и резервный), регистрационный № 15066-95;

- автоматизированные рабочие места (АРМ) оператора с программным обеспечением «Rate АРМ оператора УУН», имеющие выделенную метрологически значимую часть (библиотеку «RateCalc»), свидетельство об аттестации программного обеспечения № 13602-15 от 24.06.2015;

- контроллеры программируемые логические PLC Modicon Quantum 140 (основной и резервный) для управления запорной и регулирующей арматурой, регистрационный № 18649-09.

В состав системы входят показывающие средства измерений (СИ) температуры и давления утвержденного типа.

Система обеспечивает выполнение следующих основных функций:

- измерение массы брутто нефти косвенным методом динамических измерений в рабочем диапазоне расхода, объема, температуры, давления, плотности нефти;

- вычисление массы нетто нефти, как разности массы брутто нефти и массы балласта с использованием результатов определения массовой доли механических примесей, массовой доли хлористых солей и массовой доли воды в испытательной лаборатории;

- измерение давления и температуры нефти автоматическое и с помощью показывающих средств измерений давления и температуры нефти соответственно;

- проведение поверки и контроля метрологических характеристик (КМХ) ПР с применением ТПУ;

- проведение КМХ рабочих ПР по контрольно-резервному ПР применяемому в качестве контрольного;

- автоматический и ручной отбор проб согласно ГОСТ 2517-2012 «Нефть и нефтепродукты. Методы отбора проб»;

- контроль параметров измеряемого потока, их индикация и сигнализация нарушений установленных границ;

- защита информации от несанкционированного доступа программными средствами.

Для исключения возможности несанкционированного вмешательства, которое может повлиять на результат измерений, конструкцией ПР, входящего в состав ИК объемного расхода нефти, ПП, входящего в состав ИК плотности нефти, и ПВ, входящего в состав ИК вязкости нефти, предусмотрены места установки пломб.

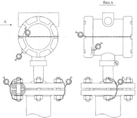
Схемы пломбировки от несанкционированного доступа с местами установки пломб представлены на рисунках 1-3.

Места установки пломб

Места установки пломб

Рисунок 1 - Схема пломбировки от несанкционированного доступа ПР.*

Рисунок 2 - Схема пломбировки от несанкционированного доступа ПП.**

Рисунок 3 - Схема пломбировки от несанкционированного доступа ПВ.**

Примечание:

* Пломбы устанавливаются на контровочных проволоках, пропущенных через отверстия шпилек, расположенных на диаметрально противоположных фланцах, и несут на себе оттиск клейма поверителя.

* * Места установки контрольных пломб, которые наносятся представителями сервисной организации, обслуживающей СИ.

Программное обеспечение

Программное обеспечение (ПО) системы (контроллеры измерительно-вычислительные OMNI-6000 и АРМ оператора «Rate АРМ оператора УУН») обеспечивает реализацию функций системы. ПО системы разделено на метрологически значимую и метрологически незначимую части. Сведения о ПО указаны в таблице 1.

Таблица 1 - Идентификационные данные ПО

Идентификационные данные (признаки)

Значение

ПО «Rate АРМ оператора УУН» (основной, резервный)

ПО OMNI-6000 (основной)

ПО OMNI-6000 (резервный)

Идентификационное наименование ПО

«RateCalc»

-

-

Номер версии (идентификационный номер ПО)

2.4.1.1

024.72

024.73

Цифровой идентификатор ПО

F0737B4F

-

-

Алгоритм вычисления

CRC32

-

-

Идентификация ПО системы осуществляется путем отображения на мониторе АРМ оператора структуры идентификационных данных.

ПО системы защищено от несанкционированного доступа, изменения алгоритмов и установленных параметров, путем ввода логина и пароля, ведения журнала событий, доступного только для чтения. Доступ к метрологически значимой части ПО системы для пользователя закрыт. При изменении установленных параметров (исходных данных) в ПО системы обеспечивается подтверждение изменений, проверка изменений на соответствие требованиям реализованных алгоритмов, при этом сообщения о событиях (изменениях) записывается в журнал событий, доступный только для чтения. Данные, содержащие результаты измерений, защищены от любых искажений путем кодирования. Уровень защиты ПО системы от непреднамеренных и преднамеренных изменений соответствует среднему уровню защиты в соответствии с Р 50.2.077-2014 «ГСИ. Испытания средств измерений в целях утверждения типа. Проверка защиты программного обеспечения».

Технические характеристики

Состав и основные метрологические характеристики ИК, а также метрологические и основные технические характеристики системы и параметры измеряемой среды приведены в таблицах 2-4.

Таблица 2 - Состав и основные метрологические характеристики ИК с комплектным способом поверки

Номер ИК

Наименован ие ИК

Количество ИК (место установки)

Состав ИК

Диапазон измерений

Пределы допускае мой погрешно сти ИК

Первичный измерительный преобразователь

Вторичная часть

1

ИК объемного расхода нефти

1 (ИЛ 1)

Преобразователь расхода роторный TOKICO

Контроллер измерительновычислительный OMNI-6000 в комплекте с барьером искрозащиты

от 200 до 1200 м3/ч

±0,15 %1) (±0,1 %)2)

Окончание таблицы 2

Номер ИК

Наименован ие ИК

Количество ИК (место установки)

Состав ИК

Диапазон измерений

Пределы допускае мой погрешно сти ИК

Первичный измерительный преобразователь

Вторичная часть

2,3

ИК объемного расхода нефти

2 (ИЛ 2, ИЛ 3)

Преобразователь расхода жидкости турбинный HELIFLU TZ-N

Контроллер измерительновычислительный OMNI-6000 в комплекте с барьером искрозащиты

от 200 до 1000 м3/ч

±0,15 %

4

ИК плотности

2 (БИК)

Преобразователь плотности жидкости измерительный модели 7835

Контроллер измерительновычислительный OMNI-6000 в комплекте с барьером искрозащиты

от 800 до 950 кг/м3

±0,3 кг/м3

5

ИК вязкости

2 (БИК)

Преобразователь плотности и вязкости жидкости измерительный модели 7827

Контроллер измерительновычислительный OMNI-6000 в комплекте с барьером искрозащиты

от 10 до 120 мм2/с (сСт)

±0,2 мПа^с в диапазо не от 0,5 до 10 мПа^с, ±1 % от шкалы в других диапазо нах

1) Пределы допускаемой относительной погрешности ИК объемного расхода нефти с

контрольно-резервным ПР, применяемым в качестве резервного;

2) Пределы допускаемой относительной погрешности ИК объемного расхода нефти с

контрольно-резервным ПР, применяемым в качестве контрольного.

Таблица 3 - Метрологические характеристики

Наименование характеристики

Значение характеристики

Диапазон измерений объемного расхода нефти, м3/ч

от 200 до 2000

Пределы допускаемой относительной погрешности при измерении массы брутто нефти, %

± 0,25

Пределы допускаемой относительной погрешности при измерении массы нетто нефти, %

± 0,35

Таблица 4 - Основные технические характеристики системы и параметры измеряемой среды

Наименование характеристики

Значение характеристики

Количество измерительный линий, шт.

3 (две рабочих, одна контрольно-резервная)

Давление измеряемой среды, МПа

от 0,2 до 1,6

Температура измеряемой среды, °С

от 3 до 30

Окончание таблицы 4

Наименование характеристики

Значение характеристики

Измеряемая среда

нефть по ГОСТ Р 51858-2002 «Нефть. Общие технические условия»

Плотность измеряемой среды в рабочем диапазоне температуры, кг/м3

от 800 до 950

Кинематическая вязкость измеряемой среды в рабочем диапазоне температуры, мм2/с (сСт)

от 10 до 120

Массовая доля воды, %, не более

0,5

Массовая концентрация хлористых солей, мг/дм3, не более

100

Массовая доля механических примесей, %, не более

0,05

Знак утверждения типа

наносится справа в нижней части титульного листа инструкции по эксплуатации системы типографским способом.

Комплектность

Комплектность системы приведена в таблице 5 аблица 5 - Комплектность системы

Наименование

Обозначение

Количество

Система измерений количества и показателей качества нефти № 36 на ЛПДС «Лопатино» АО «Транснефть -Дружба»

-

1 шт.

Инструкция по эксплуатации

-

1 экз.

Методика поверки

МП 1172-14-2020

1 экз.

Сведения о методах измерений

Методика измерений приведена в документе «ГСИ. Масса нефти. Методика измерений с применением системы измерений количества и показателей качества нефти № 36 на ЛПДС «Лопатино» АО «Транснефть - Дружба» с изменением № 1, зарегистрирована в Федеральном информационном фонде по обеспечению единства измерений под № ФР.1.29.2016.23633.

Нормативные документы

Приказ Росстандарта от 07.02.2018 г. № 256 «Об утверждении Государственной

поверочной схемы для средств измерений массы и объема жидкости в потоке, объема жидкости и вместимости при статических измерениях, массового и объемного расходов жидкости»

Смотрите также

Default ALL-Pribors Device Photo
64897-16
АГ 0011 Газоанализаторы
Фирма "OU FRANSERMAX" / ПО "ФРАНСЕРМАХ", ЭСТОНИЯ
Газоанализаторы АГ 0011 предназначены для измерения объемной доли кислорода в двух- или трехкомпонентных газовых смесях определенного состава, в том числе в воздухе рабочей зоны.
64896-16
УЗР-868-ГФ(Х), ГМ(Х), ГП(Х) Расходомеры ультразвуковые
ЗАО "ДС Контролз", г. Великий Новгород
Расходомеры ультразвуковые (далее - расходомеры) УЗР-868-ГФ(Х), ГМ(Х), ГП(Х) предназначены для измерений скорости, объемного расхода (объема) природного, попутного газа, массового расхода (массы) водяного пара.
64895-16
Trimble NetR9 Аппаратура геодезическая спутниковая
Фирма "Trimble Navigation Ltd.", СОЕДИНЕННЫЕ ШТАТЫ
Аппаратура геодезическая спутниковая Trimble NetR9 предназначена для определения координат точек земной поверхности и измерений длины базиса при выполнении кадастровых и землеустроительных работ, а также при создании и обновлении государственных топо...
64894-16
Trimble R8s Аппаратура геодезическая спутниковая
Фирма "Trimble Navigation Ltd.", СОЕДИНЕННЫЕ ШТАТЫ
Аппаратура геодезическая спутниковая Trimble R8s предназначена для определения координат точек земной поверхности и измерений длины базиса при выполнении кадастровых и землеустроительных работ, а также при создании и обновлении государственных топогр...
Система автоматизированная управления технологическими процессами установки комплексной подготовки газа №1 на Средневилюйском газоконденсатном месторождении (далее - система) предназначена для измерения и преобразования аналоговых сигналов тока от пе...