Полуприцепы-цистерны BONUM 914211
| Номер в ГРСИ РФ: | 70533-18 |
|---|---|
| Категория: | Полуприцепы-цистерны |
| Производитель / заявитель: | ООО "БОНУМ", г.Ростов-на-Дону |
Полуприцепы-цистерны BONUM 914211 (далее - ППЦ) предназначены для измерений объема нефтепродуктов плотностью до 860 кг/м3.
Информация по Госреестру
| Основные данные | |||||||||||||
|---|---|---|---|---|---|---|---|---|---|---|---|---|---|
| Номер по Госреестру | 70533-18 | ||||||||||||
| Действует | по 13.03.2028 | ||||||||||||
| Наименование | Полуприцепы-цистерны | ||||||||||||
| Модель | BONUM 914211 | ||||||||||||
| Модификации |
BONUM 914211/33 BONUM 914211/34 BONUM 914211/35 BONUM 914211/36 BONUM 914211/38 BONUM 914211/40 BONUM 914211/45 BONUM 914211/50 на испытания представлены: BONUM 914211/32 |
||||||||||||
| Приказы |
№1548 от
31.07.2025
— О внесении изменений в сведения об утвержденных типах средств измерений
|
||||||||||||
| Код идентификации производства |
ОС
СИ не соответствует критериям подтверждения производства на территории
РФ в соответствии с постановлением №719
|
||||||||||||
| Характер производства | Серийное | ||||||||||||
| Идентификатор записи ФИФ ОЕИ | 53cb6335-4ea3-d3ff-9944-347ecbd23e1d | ||||||||||||
| Испытания |
|
||||||||||||
Производитель / Заявитель
ООО «БОНУМ», РОССИЯ, 44091, Ростовская обл., г.о. Ростов-на-Дону, г. Ростов-на-Дону, ул. Пескова, зд. 1, стр. 1
РОССИЯ
Поверка
| Межповерочный интервал / Периодичность поверки |
2 года
|
| Зарегистрировано поверок |
1957
|
| Найдено поверителей | |
| Успешных поверок (СИ пригодно) | 1957 (100%) |
| Неуспешных поверок (СИ непригодно) | 0 (0 %) |
| Актуальность информации | 16.05.2026 |
Поверители
Скачать
|
70533-18: Описание типа
2020-70533-18.pdf
Файл устарел
|
Скачать | 138.9 КБ | |
|
70533-18: Методика поверки
2021-mp70533-18.pdf
Файл устарел
|
Скачать | 71.2 КБ | |
|
70533-18: Описание типа
2020-70533-18-1.pdf
|
Скачать | 138.9 КБ | |
|
70533-18: Описание типа
2025-70533-18.pdf
|
Скачать | 324.9 КБ | |
|
70533-18: Методика поверки
2021-mp70533-18-1.pdf
|
Скачать | 71.2 КБ |
Описание типа
Назначение
Полуприцепы-цистерны BONUM 914211 (далее - ППЦ) предназначены для измерений объема нефтепродуктов плотностью до 860 кг/м3.
Описание
Принцип действия ППЦ основан на заполнении их нефтепродуктом до указателя уровня налива, соответствующего определенному объему нефтепродукта. Слив нефтепродукта производится самотеком или через насос.
ППЦ состоят из стальной сварной цистерны, имеющей в поперечном сечении цилиндрическую форму, установленной на шасси. Цистерна состоит из герметичных секций. Каждая секция является транспортной мерой полной вместимости (далее - ТМ). Внутри секций могут располагаться перегородки-волнорезы с отверстиями. Каждая секция цистерны оборудована заливной горловиной формы с установленным указателем уровня налива. Планка указателя уровня налива находится в горловине или полости цистерны.
Технологическое оборудование предназначено для операций налива-слива
нефтепродуктов и включает в себя:
- горловину с указателем уровня;
- съемную крышку горловины с заливным люком и дыхательным клапаном;
- клапан донный;
- кран шаровой;
- рукава напорно-всасывающие;
- насос, датчик уровня и оборудование для нижнего налива по дополнительному заказу.
ППЦ имеют модификации BONUM 914211/32, BONUM 914211/33, BONUM 914211/34, BONUM 914211/35, BONUM 914211/36, BONUM 914211/38, BONUM 914211/40, BONUM 914211/45 и BONUM 914211/50, которые отличаются геометрическими размерами и номинальной вместимостью.
На боковых сторонах и сзади ППЦ имеют надпись «ОГНЕОПАСНО» и знаки с информационными табличками для обозначения транспортного средства, перевозящего опасный груз.
Общий вид ППЦ представлен на рисунке 1.
Рисунок 1 - Общий вид полуприцепа-цистерны BONUM 914211/32
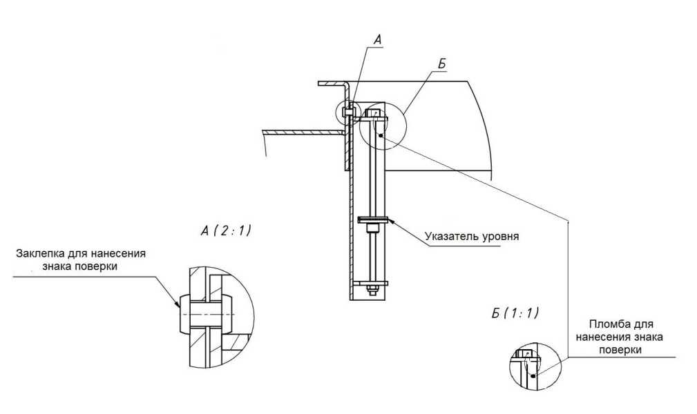
Знак поверки наносится на заклепку, проходящую через стенку горловины и указатель уровня налива, навесную пломбу и на свидетельство о поверке.
Схема пломбировки для защиты от несанкционированного изменения положения указателя уровня налива, обозначение места нанесения знака поверки представлены на рисунках 2, 3 и 4.
Рисунок 2 - Схема пломбировки от несанкционированного изменения положения указателя уровня налива в полости цистерны, обозначение места нанесения знака поверки
Рисунок 3 - Схема пломбировки от несанкционированного изменения положения указателя уровня налива в горловине цистерны, обозначение места нанесения знака поверки
Рисунок 4 - Схема пломбировки от несанкционированного изменения положения регулируемого указателя уровня налива, обозначение места нанесения знака поверки
Технические характеристики
|
Таблица 1 - Метрологические ха |
рактеристики | ||
|
Наименование характеристики |
Значение | ||
|
BONUM 914211/32 |
BONUM 914211/33 |
BONUM 914211/34 | |
|
Номинальная вместимость, дм3 |
32000 |
33000 |
34000 |
|
Таблица 2 - Метрологические ха |
рактеристики | ||
|
Наименование характеристики |
Значение | ||
|
BONUM 914211/35 |
BONUM 914211/36 |
BONUM 914211/38 | |
|
Номинальная вместимость, дм3 |
35000 |
36000 |
38000 |
|
Таблица 3 - Метрологические ха |
рактеристики | ||
|
Наименование характеристики |
Значение | ||
|
BONUM 914211/40 |
BONUM 914211/45 |
BONUM 914211/50 | |
|
Номинальная вместимость, дм3 |
40000 |
45000 |
50000 |
Таблица 4 - Метрологические характеристики
|
Наименование характеристики |
Значение |
|
Пределы допускаемой относительной погрешности ТМ, % |
±0,4 |
|
Разность между номинальной и действительной вместимостью ТМ, %, не более |
±1,5 |
Таблица 5 - Основные технические характеристики
|
Наименование характеристики |
Значение | ||
|
BONUM 914211/32 |
BONUM 914211/33 |
BONUM 914211/34 | |
|
Снаряженная масса, кг, не более |
10000 |
10000 |
10000 |
|
Длина, мм, не более |
13000 |
13000 |
13000 |
|
Ширина, мм, не более |
2550 |
2550 |
2550 |
|
Высота, мм, не более |
4000 |
4000 |
4000 |
Таблица 6 - Основные технические характеристики
|
Наименование характеристики |
Значение | ||
|
BONUM 914211/35 |
BONUM 914211/36 |
BONUM 914211/38 | |
|
Снаряженная масса, кг, не более |
10000 |
10000 |
10000 |
|
Длина, мм, не более |
13000 |
13000 |
13000 |
|
Ширина, мм, не более |
2550 |
2550 |
2550 |
|
Высота, мм, не более |
4000 |
4000 |
4000 |
Таблица 7 - Основные технические характеристики
|
Наименование характеристики |
Значение | ||
|
BONUM 914211/40 |
BONUM 914211/45 |
BONUM 914211/50 | |
|
Снаряженная масса, кг, не более |
10000 |
11000 |
12000 |
|
Длина, мм, не более |
13000 |
14000 |
15000 |
|
Ширина, мм, не более |
2550 |
2550 |
2550 |
|
Высота, мм, не более |
4000 |
4000 |
4000 |
Таблица 8 - Основные технические характеристики
|
Наименование характеристики |
Значение |
|
Температура окружающей среды при эксплуатации, °С |
от -50 до +45 |
Знак утверждения типа
наносится на информационную табличку, установленную на раме с правой стороны по ходу движения, методом гравировки и на титульный лист руководства по эксплуатации печатным способом.
Комплектность
Таблица 9 - Комплектность средства измерений
|
Комплектующие |
Обозначение |
Количество |
|
Полуприцеп-цистерна |
BONUM 914211/ХХ |
1 шт. |
|
Запасные части, инструменты и принадлежности |
1 шт. | |
|
Руководство по эксплуатации |
1 экз. |
Сведения о методиках (методах) измерений приведены в эксплуатационном документе.
Нормативные документы
Приказ Росстандарта от 07.02.2018 г. № 256 Об утверждении Государственной поверочной схемы для средств измерений массы и объема жидкости в потоке, объема жидкости и вместимости при статических измерениях, массового и объемного расхода жидкости
ТУ 29.20.23.120-002-24235179-2017. Полуприцепы-цистерны для перевозки светлых нефтепродуктов и битума 914211; 914221. Технические условия

