Резервуар стальной горизонтальный цилиндрический ЕП-12,5-2000-1500-А-С0-ХЛ1
| Номер в ГРСИ РФ: | 96967-25 |
|---|---|
| Категория: | Резервуары |
| Производитель / заявитель: | ООО "Связь Энерго", Рязанская обл., г. Сасово |
|
96967-25: Описание типа
2025-96967-25.pdf
|
Скачать | 245.1 КБ |
Резервуар стальной горизонтальный цилиндрический ЕП-12,5-2000-1500-А-С0-ХЛ1 (далее - резервуар) предназначен для измерений объема нефти, а также для ее приема, хранения и отпуска.
Информация по Госреестру
| Основные данные | |||||||
|---|---|---|---|---|---|---|---|
| Номер по Госреестру | 96967-25 | ||||||
| Наименование | Резервуар стальной горизонтальный цилиндрический | ||||||
| Модель | ЕП-12,5-2000-1500-А-С0-ХЛ1 | ||||||
| Приказы |
№2577 от
26.11.2025
— Об утверждении типов средств измерений
|
||||||
| Код идентификации производства |
ОС
СИ не соответствует критериям подтверждения производства на территории
РФ в соответствии с постановлением №719
|
||||||
| Характер производства | Единичное | ||||||
| Идентификатор записи ФИФ ОЕИ | 994528be-0fa6-4432-6f23-b82761afceb1 | ||||||
| Испытания |
|
||||||
Производитель / Заявитель
ООО «Связь Энерго», РОССИЯ, 391430, Рязанская обл., г. Сасово, ул. Пушкина, 21.
Поверка
| Методика поверки / информация о поверке |
ГОСТ 8.346-2000 Государственная система обеспечения единства измерений Резервуары стальные горизонтальные цилиндрические Методика поверки
(с 26.11.2025)
|
| Межповерочный интервал / Периодичность поверки |
5 лет
|
| Зарегистрировано поверок | |
| Найдено поверителей | |
| Успешных поверок (СИ пригодно) | 3 (100%) |
| Неуспешных поверок (СИ непригодно) | 0 (0 %) |
| Актуальность информации | 29.03.2026 |
Поверители
Скачать
|
96967-25: Описание типа
2025-96967-25.pdf
|
Скачать | 245.1 КБ |
Описание типа
Назначение
Резервуар стальной горизонтальный цилиндрический ЕП-12,5-2000-1500-А-С0-ХЛ1 (далее - резервуар) предназначен для измерений объема нефти, а также для ее приема, хранения и отпуска.
Описание
Тип резервуара - стальной горизонтальный цилиндрически, номинальной вместимостью
12,5 м3 подземного расположения.
Принцип действия резервуара основан на заполнении его нефтью до определенного уровня, соответствующего заданному значению объема.
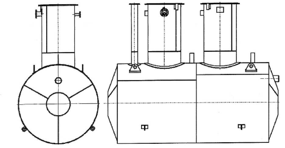
Резервуар представляет собой горизонтально расположенный цилиндрический стальной сосуд с днищами.
Заполнение и выдача продукта осуществляется через приемно-раздаточные патрубки.
Заводской номер резервуара в виде цифрового обозначения, состоящий из арабских цифр, нанесен ударным способом на маркировочную табличку резервуара (рисунок 1). Табличка крепится к горловине резервуара.
Резервуар ЕП-12,5-2000-1500-А-С0-ХЛ1 с заводским номером 330 расположен на территории СИКН №452, Ачинская ЛПДС по адресу: Красноярский край, Ачинский район, с. Большая Салырь.
Эскиз общего вида резервуара приведен на рисунке 2. Фотография горловин и измерительного люка приведена на рисунке 3.
Нанесение знака поверки на средство измерений не предусмотрено.
Рисунок 1 - Маркировочная табличка резервуара
Рисунок 2 - Эскиз общего вида резервуара
Рисунок 3 - Горловины и измерительный люк резервуара ЕП-12,5-2000-1500-А-С0-ХЛ1 зав.№ 330
Пломбирование резервуара ЕП-12,5-2000-1500-А-С0-ХЛ1 не предусмотрено.
Технические характеристики
Таблица 1 - Метрологические характеристики
|
Наименование характеристики |
Значение |
|
Номинальная вместимость, м3 |
12,5 |
|
Пределы допускаемой относительной погрешности определения вместимости (объемный метод), % |
±0,25 |
Таблица 2 - Технические характеристики
|
Наименование характеристики |
Значение |
|
Условия эксплуатации: Температура окружающего воздуха, оС |
от -50 до +38 |
Таблица 3 - Показатели надежности
|
Наименование характеристики |
Значение |
|
Средний срок службы, лет, не менее |
30 |
Знак утверждения типа
наносится на титульный лист паспорта резервуара типографским способом.
Комплектность
Таблица 4 - Комплектность средства измерений
|
Наименование |
Обозначение |
Количество |
|
Резервуар стальной горизонтальный цилиндрический |
ЕП-12,5-2000-1500-А-С0-ХЛ1 |
1 шт. |
|
Паспорт |
- |
1 экз. |
|
Градуировочная таблица |
- |
1 экз. |
Сведения о методах измерений
приведены в пункте 8 паспорта на резервуар.
Нормативные документы
Приказ Росстандарта от 26 сентября 2022 г. № 2356 «Об утверждении Государственной поверочной схемы для средств измерений массы и объема жидкости в потоке, объема жидкости и вместимости при статических измерениях, массового и объемного расходов жидкости»
