Сигнализатор уровня магнитный поплавковый вертикальный РИЗУР‑М‑В
- Возможность контроля до 8 уровней жидкости
- Совместимость с широким диапазоном жидкостей
- Работа при температуре до +150 °C и давлении до 2,5 МПа
- Подходит для взрывоопасных зон
- Выходные сигналы: сухой контакт, 4…20 мА, NAMUR
- Различные варианты подключения: резьбовое, фланцевое и др.
- Высокая степень пылевлагозащиты (до IP68)
- Долговечность и надежность — срок службы до 10 лет
Магнитный поплавковый сигнализатор уровня жидкости вертикального монтажа РИЗУР-М-В предназначен для контроля уровня жидкостей в открытых или закрытых, в том числе находящихся под избыточным давлением емкостях, на технологических установках промышленных объектов химической, нефтехимической, медицинской, пищевой и других отраслях промышленности.
Сигнализаторы РИЗУР-М-В могут применяться в качестве индикатора наличия (отсутствия) жидкости в контролируемом объеме на заранее заданной высоте емкости. Контролируемые среды: вода, нефтепродукты, масла и любые другие жидкости.
Назначение и область применения
Сигнализаторы серии РИЗУР-М производства ООО "НПО РИЗУР" выпускаются в двух вариантах: РИЗУР-М-В (вертикального монтажа) и РИЗУР-М-Г (горизонтального монтажа)
| РИЗУР-М-Г (горизонтальный монтаж) |
РИЗУР-М-В (вертикальный монтаж) |
Параметры |
|
|
|
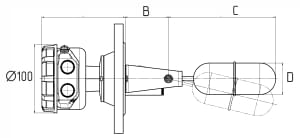
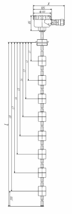
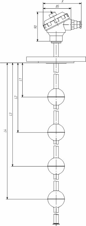
B+С - в стандартном исполнении составляет 230 мм. По согласованию с изготовителем возможно другое. D - диаметр поплавка L - длина ЧЭ L1...L8 - местоположение точек контроля (указываются при заказе) Возможно изготовление сигнализатора с различными типами присоединениями: фланцевое, накидная гайка, штуцерное присоединение, под приварку и др. |
Сигнализаторы РИЗУР-М-В используются в системах автоматического контроля, регулирования и управления технологическими процессами, в других устройствах автоматики, а также могут применяться в системах очистки и фильтрования, в резервуарах для охлаждающих и смазывающих жидкостей.
Сигнализатор преобразует достижение контролируемой жидкостью точки контроля в выходной сигнал типа «сухой контакт», 4…20 мА, NAMUR.
Приборы предназначены для эксплуатации как в общепромышленных, так и во взрывоопасных зонах в соответствии с маркировкой взрывозащиты. Приборы настраиваются в заводских условиях для работы в жидкости с заданной плотностью (в соответствии с заказом).
Устройство и принцип работы
Погружная часть датчика РИЗУР-M-В представляет собой шток, на котором в определенной точке располагается поплавок (или несколько поплавков в разных точках). Ход передвижения поплавка ограничен фиксаторами сверху и снизу. Внутри поплавка находится постоянный магнит, а в штоке, представляющем собой полую трубку, на определенном уровне расположен геркон. При перемещении поплавка на геркон воздействует магнитное поле, что вызывает замыкание/размыкание контрольной цепи.
Датчики РИЗУР-М-В могут быть оснащены как корпусом, в котором располагаются клеммы для подключения сигнальных кабелей, так и кабельным выводом требуемой длины.
Магнитные поплавковые сигнализаторы уровня жидкости вертикального монтажа РИЗУР-М-В могут изготавливаться с различными вариантами подключения к процессу – резьбовыми и фланцевыми присоединениями. В стандартном исполнении минимальный размер подсоединения (условного прохода) зависит от диаметра поплавка, однако к заказу доступны исполнения, при которых резьбовое или фланцевое соединение имеет условный размер меньше диаметра поплавка, а поплавок фиксируется на штоке внутри резервуара.
Сигнализаторы РИЗУР-М-В производства «НПО РИЗУР» выпускаются согласно требованиям нормативно-технической документации, разработанной на предприятии, имеют все необходимые сертификаты и соответствуют международным стандартам ISO 9001. Возможно, как типовое изготовление сигнализаторов РИЗУР-М-В, так и нестандартное, основанное на технических требованиях и чертежах заказчика.
Пример монтажа
Сигнализатор уровня магнитный поплавковый РИЗУР‑М‑В вертикальный
| РИЗУР-М-В (до 8 точек сигнализации) | РИЗУР-М-В (до 4 точек сигнализации) |
|
|
|
Технические характеристики
| Температура рабочей среды, °С | -60….+150 |
| Давление рабочей среды, МПа | 1,6; 2,5 |
| Минимальная плотность измеряемой среды, кг/м3 | 700 |
| Материал контактирующий с измеряемой средой | нерж. сталь AISI 304, 321, титан и др. |
| Количество точек срабатывания | до 8 |
| Макс. допустимое напряжение на контактах, В | 127 - 220 |
| Макс. коммутируемый ток, А | 0,5-1 |
| Максимальная нагрузка на контакты, Вт | 20 |
| Температура окружающей среды, °С | -60...+60 -60...+75 |
| Ориентация в пространстве | вертикальная , горизонтальная |
| Степень защиты корпуса | IP65, IP67, IP68 (по специальному заказу) |
| Маркировка взрывозащиты | без взрывозащиты 0Ex ia IIC T6 Ga X 1Ex db IIC T6 Gb X |
| Материал корпуса | пластик, алюминий, нерж. сталь |
| Выходной сигнал | сухой контакт 4…20 мА NAMUR |
| Подключение к процессу | резьбовое (не менее М32), фланцевое (не менее DN32) |
| Средний срок службы, лет | 10 |
Сигнализатор уровня магнитный поплавковый РИЗУР‑М‑В вертикальный Конфигуратор
| Сертификат Электромагнитной совместимости ТР ТС 020 2011 на приборы контроля уровня.pdf | Скачать |
| Сертификат Приборы измерения и контроля расхода и уровня ТР ТС 012.pdf | Скачать |
| Сертификат сейсмостойкость Приборы измерения и контроля уровня.pdf | Скачать |
| Сертификат -SIL2- Приборы измерения и контроля уровня и расхода.pdf | Скачать |
| Руководство по эксплуатации РИЗУР-М-В.pdf | Скачать |
| РИЗУР-М-В Свидетельство о типовом одобрении Российского Морского Регистра судоходста.pdf | Скачать |
| Сертификат соответствия по программе «Сделано в России».pdf | Скачать |
| Код заказа РИЗУР‑М‑В.pdf | Скачать |
| Опросный лист РИЗУР‑М‑В.pdf | Скачать |
| Опросный лист РИЗУР-М.docx | Скачать |



