Расходомеры-счетчики ультразвуковые ЭМИС-УЛЬТРА 290
| Номер в ГРСИ РФ: | 95153-25 |
|---|---|
| Категория: | Расходомеры |
| Производитель / заявитель: | АО "ЭМИС", г.Челябинск |
Расходомеры-счетчики ультразвуковые ЭМИС-УЛЬТРА 290 (далее - расходомер) предназначены для измерений объемного расхода и объема газа при рабочих условиях, объемного расхода и объема газа, приведенного к стандартным условиям, массового расхода и массы газа.
Информация по Госреестру
| Основные данные | |
|---|---|
| Номер по Госреестру | 95153-25 |
| Действует | по 11.04.2030 |
| Наименование | Расходомеры-счетчики ультразвуковые |
| Модель | ЭМИС-УЛЬТРА 290 |
| Характер производства | Серийное |
| Идентификатор записи ФИФ ОЕИ | 955e69d0-5bcd-f47b-ad02-d74e3c8d9a82 |
Производитель / Заявитель
Акционерное общество "Электронные и механические измерительные системы" (АО "ЭМИС"), г. Челябинск
Поверка
| Межповерочный интервал / Периодичность поверки |
4 года
|
| Зарегистрировано поверок | |
| Актуальность информации | 26.04.2026 |
Поверители
Скачать
|
95153-25: Описание типа
2025-95153-25.pdf
|
Скачать | 916.9 КБ | |
|
95153-25: Методика поверки
2025-mp95153-25.pdf
|
Скачать | 3.5 MБ |
Описание типа
Назначение
Расходомеры-счетчики ультразвуковые ЭМИС-УЛЬТРА 290 (далее - расходомер) предназначены для измерений объемного расхода и объема газа при рабочих условиях, объемного расхода и объема газа, приведенного к стандартным условиям, массового расхода и массы газа.
Описание
Принцип действия расходомеров основан на методе измерений разности между временем прохождения ультразвуковых импульсов по потоку и против потока газа. По разности времени прохождения ультразвуковых импульсов расходомеры определяют скорость проходящего газа и объемный расход при рабочих условиях, как в прямом, так и в обратном (реверсивном) направлениях потока газа. Расходомеры проводят расчет коэффициента сжимаемости газа для приведения измеренного объемного расхода и объема газа к стандартным условиям, вычисление массового расхода и массы газа.
Расходомеры имеют общепромышленное и взрывозащищенное исполнения.
Расходомеры в зависимости от модификации и исполнения состоят из:
- проточной части с установленными электроакустическими преобразователями;
- электронного блока с возможность подключения первичного измерительного преобразователя давления и первичного измерительного преобразователя температуры, которые устанавливаются в проточную часть или в трубопровод;
- участков измерительных.
Расходомеры изготавливаются в трех модификациях, которые отличаются исполнением электронного блока и наличием первичных измерительных преобразователей температуры и давления:
- базовая (обозначение - пустое знакоместо) - электронный блок без функции вычисления объемного расхода и объема газа, приведенного к стандартным условиям, массового расхода и массы газа и без возможности подключения первичных измерительных преобразователей температуры и давления;
- «ВВ1» - электронный блок c функцией вычисления объемного расхода и объема газа, приведенного к стандартным условиям, массового расхода и массы газа и наличием первичных измерительных преобразователей температуры и давления, при этом отсутствует возможность отключения первичных измерительных преобразователей температуры и давления от электронного блока во время поверки расходомера;
- «ВВ2» - электронный блок c функцией вычисления объемного расхода и объема газа, приведенного к стандартным условиям, массового расхода и массы газа и наличием первичных измерительных преобразователей температуры и давления, при этом при поверке производят отключение (подключение) первичных измерительных преобразователей температуры и давления от электронного блока.
Расходомер по типу присоединения электронного блока к проточной части может быть интегральным или дистанционным.
Базовая модификация обеспечивает выполнение измерений объемного расхода (объема) газа при рабочих условиях, модификации «ВВ1» и «ВВ2» дополнительно измеряют абсолютное давление и температуру газа, далее выполняют вычисление объемного расхода (объема) газа приведенного к стандартным условиям, вычисление массового расхода (массы) газа.
Расходомер осуществляет измерение, обработку, архивирование (в энергонезависимой памяти), отображение (на дисплее) и передачу (по интерфейсам связи) результатов измерений и вычислений.
Модификации «ВВ1» и «ВВ2» обеспечивают прием и обработку сигналов от первичных измерительных преобразователей абсолютного давления и температуры, измерение (вычисление) объема газа, приведенного к стандартным условиям по ГОСТ 2939-63, в соответствии с требованиями ГОСТ 8.611-2013 по методам, изложенным в ГСССД 8-79, ГСССД МР 113-03, ГСССД МР 118-2005, ГОСТ 30319 (2,3)-2015, ГОСТ Р 8.662-2009, ГОСТ Р 70927-2023, ГОСТ Р 8.770-2011, ГСССД МР 134-07. Для других газов приведение к стандартным условиям выполняется при внесении в электронный блок данных о плотности измеряемой среды (коэффициенте сжимаемости).
В качестве первичных измерительных преобразователей температуры используются платиновые термопреобразователи сопротивления классов АА, А по ГОСТ 6651-2009.
В качестве выходного сигнала от первичных измерительных преобразователей абсолютного давления может использоваться цифровой, или унифицированный аналоговый выходной сигнал силы, или напряжения постоянного тока.
Структура условного обозначения расходомеров:
ЭМИС-УЛЬТРА 290 Xi - Х2 - Хз— Х4— Х5— Хб— Х7— Х8— Х9— Х10- Х11— Х12- Х13— Х14— Х15— Х16— Х17— Х18- Х19- Х20,
где:
Х1 — модификация;
Х2 — взрывозащита;
Х3 — диаметр условного прохода;
Х4 — материал проточной части;
Х5 — давление измеряемой среды;
Х6 — температура измеряемой среды;
Х7 — электрическое питание;
Х8 — выходные сигналы;
Х9 — кабельный ввод №1;
Х10 — кабельный ввод №2;
Х11 — исполнение по диапазону расходов;
Х12 — Пределы допускаемой относительной погрешности измерений объемного расхода и объема газа при рабочих условиях в диапазоне Q t < Q < Qmax (указывается на маркировочной табличке);
Х13 — материал корпуса электронного блока;
Х14 — исполнение расходомера;
Х15 — наличие дисплея;
Х16 — уплотнительная поверхность;
Х17 — стандарт присоединения к процессу;
Х18 — строительная длина;
Х19 — участок измерительный;
Х20 — поверка.
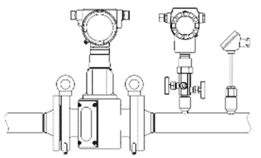
Внешний вид расходомеров, места нанесения пломб поверителя и пломб изготовителя или организации, осуществляющей ремонт, показаны на рисунке 1.
а) внешний вид расходомера-счетчика ультразвукового ЭМИС-УЛЬТРА 290 разных исполнений
б) варианты пломбировки расходомера-счетчика ультразвукового ЭМИС-УЛЬТРА 290 в зависимости от исполнения электронной блока
Места нанесения пломб изготовителя или организации осуществляющей ремонт
Места нанесения пломб поверителя
Места нанесения пломб газоснабжающими организациями
в) варианты пломбировки расходомера-счетчика ультразвукового ЭМИС-УЛЬТРА 290 в зависимости от исполнения корпуса расходомера
г) варианты пломбировки расходомера-счетчика ультразвукового ЭМИС-УЛЬТРА 290 в комплекте
с участками измерительными
Рисунок 1 - Общий вид расходомеров и места нанесения пломб поверителя и пломб изготовителя, организации осуществляющей ремонт или газоснабжающей организации
Знак утверждения типа и заводской номер расходомера наносятся на маркировочную табличку, которая расположена сверху на корпусе электронного блока, методом фотолитографии, полиграфическим способом или методом лазерной маркировки в цифровом коде, места расположения показаны на рисунке 2.
Знак поверки наносится в соответствующий раздел паспорта и (или) на бланк свидетельства о поверке, а также на пломбы поверителя.
Место нанесения заводского
Место нанесения заводского
Место нанесения знака утверждения типа
Место нанесения знака утверждения типа
ЯО 4ЛМИГ.М РОССИЯ
Рисунок 2 - Места расположения знака утверждения типа и заводского номера расходомера на маркировочной табличке
Программное обеспечение
Расходомеры имеют программное обеспечение (ПО), устанавливаемое в энергонезависимую память.
В процессе эксплуатации ПО не может быть изменено, так как конструкция расходомера (после пломбировки электронного блока в соответствии с рисунком 1 б) исключает возможность несанкционированного влияния на ПО и измерительную информацию.
Идентификационные данные ПО расходомеров приведены в таблице 1.
Таблица 1 - Индикационные данные ПО
|
Идентификационные данные (признаки) |
Значение |
|
Идентификационное наименование ПО |
EU290 |
|
Номер версии (идентификационный номер) ПО, не ниже |
1.Х* |
|
Цифровой идентификатор |
- |
|
* X - обозначение версии метрологически незначимой части значения от 0 до 9. Версия ПО указывается в паспорте расходомера. |
ПО, может принимать |
Защита ПО от непреднамеренных и преднамеренных изменений соответствует уровню «высокий» согласно Р 50.2.077-2014.
Нормирование метрологических характеристик расходомеров проведено с учетом влияния ПО.
Технические характеристики
Метрологические и основные технические характеристики расходомеров приведены в таблицах 2 - 3.
Таблицы 2 - Метрологические характеристики
|
Наименование характеристики |
Значение |
|
Диапазон измерений объемного расхода, м3/ч |
от 0,4 до 665 0001) |
|
Пределы допускаемой относительной погрешности измерений объемного расхода и объема газа при рабочих условиях2), % - в диапазоне Qmin < Q3) < Qt3) - в диапазоне Qt3) < Q3) < Qmax |
±0,9 (±1,1); ±1,0 (±1,2); ±1,1 (±1,3); ±1,4 (±1,6); ±1,5 (±1,7); ±1,7 (±1,9); ±2,0 (±2,2); ±2,5 (±2,7); ±3,0 (3,2); ±3,5 (±3,7); ±0,5 (±0,7); ±0,7 (±0,9); ±0,9 (±1,1); ±1,0 (±1,2); ±1,4 (±1,6); ±1,5 (±1,7); ±1,7 (±1,9); ±2,0 (±2,2); ±2,5 (±2,7); ±3,0 (±3,2); |
|
Пределы допускаемой относительной погрешности измерения объемного расхода и объема газа, приведенного к стандартным условиям, массового расхода и массы газа 2), % - в диапазоне Qmin < Q < Qt3) - в диапазоне Qt < Q < Qmax3) |
±1,0 (±1,2); ±1,4 (±1,6); ±1,5 (±1,7); ±1,7 (±1,9); ±2,0 (±2,2); ±2,1 (±2,3); ±2,5 (±2,7); ±3,0 (±3,2); ±3,3 (±3,5); ±4,0 (±4,2); ±0,75 (±1,0); ±1,0 (±1,2); ± 1,1 (±1,3); ±1,4 (±1,6); ±1,5 (±1,7); ±1,7 (±1,9); ±2,0 (±2,2); ±2,5 (±2,7); ±3,0 (±3,2); ±4,0 (±4,2) |
Продолжение таблицы 2
|
Наименование характеристики |
Значение |
|
Пределы допускаемой приведенной погрешности к диапазону измерений при преобразовании цифрового значения в аналоговый выходной сигнал силы постоянного тока от 4 до 20 мА, % |
±0,05 |
|
Примечания: 1 - указаны минимальное и максимальное значение объемного расхода газа при рабочих условиях для всех исполнений расходомеров, конкретное значение Qmin (наименьший объемный расход) и Qmax (наибольший объемный расход) указываются в паспорте; 2 - выбирается из ряда, конкретное значение указывается в паспорте на расходомер; 3 - Q - измеряемый объемный расход, м3/ч; Qt - переходный объемный расход, м3/ч (конкретное значение Qt указывается в паспорте и может принимать значения от 0,05 до 0,15 от Qmax). 4 - В скобках указаны погрешности при имитационной поверке (применима для расходомеров не менее Ду 50 мм). | |
Таблица 3 - Основные технические характеристики
|
Наименование характеристики |
Значение |
|
Номинальный диаметр условного прохода (Ду) |
от 25 до 1400 |
|
Выходные сигналы (модификации «ВВ1» и «ВВ2») |
Аналоговые: Частотный (от 0 до 10000 Гц), Импульсный, Токовый 4-20 мА, Namur Цифровые: HART не ниже v.5 Modbus RTU по интерфейсам, RS485, Fieldbus, Profibus, USB. Беспроводные: GSM, GPRS, LoraWAN, Bluetooth, IrDA (ИК-порт) |
|
Параметры рабочей среды: - температура, °С - абсолютное давление, не более, МПа |
от -70 до +2501) 161) |
|
Рабочие условия эксплуатации: - температура окружающей среды, °С - атмосферное давление, кПа - относительная влажность окружающего воздуха при температуре +35 °С, %, не более |
от -60 до +70 от 84 до 106,7 98 (без конденсации влаги) |
|
Параметры электропитания от источника постоянного тока - номинальное напряжение, В |
3,6 или 24 |
|
Параметры электропитания от источника переменного тока - номинальное напряжение, В |
230 |
Продолжение таблицы 3
|
Наименование характеристики |
Значение |
|
Маркировка взрывозащиты - исполнение Ex - исполнение Exia - исполнение Вн - исполнение Exdib - исполнение Exdb - исполнение Exibd |
1Ех ib IIB T2...T6 Gb X 1Ех ib IIC T2...T6 Gb X 0Ех ia IIB T2...T6 Ga X 0Ех ia IIC T2...T6 Ga X 1Ех db IIB T2...T6 Gb X 1Ех db IIC T2...T6 Gb X 1Ех db ib [ia Ga] IIC T2.T6 Gb 1Ех db [ia Ga] IIC T2...T6 Gb 1Ех ib db IIC T2...T6 X |
|
Габаритные размеры |
в соответствии с руководством по эксплуатации на расходомер |
|
Масса, кг, не более |
в соответствии с руководством по эксплуатации на расходомер |
|
Примечания: 1 - конкретное значение указывается в паспорте на расходомер. | |
Таблица 4 - Показатели надежности
|
Наименование характеристики |
Значение |
|
Средний срок службы, лет |
15 |
Знак утверждения типа
наносится на маркировочную табличку на корпусе расходомера и на титульные листы паспорта и руководства по эксплуатации расходомера.
Комплектность
Таблица 5 - Комплектность
|
Наименование |
Обозначение |
Количество |
|
Расходомер-счетчик ультразвуковой |
ЭМИС-УЛЬТРА 290 (модификация и исполнение согласно договора поставки) |
1 шт. |
|
Участок измерительный |
- |
По заказу |
|
Руководство по эксплуатации |
ЭУ 290.00.00.РЭ |
1 экз. |
|
Паспорт |
ЭУ 290.00.00.ПС |
1 экз. |
Сведения о методах измерений
приведены в Приложении В документа «Руководство по эксплуатации. Расходомеры-счетчики ультразвуковые ЭМИС-УЛЬТРА 290» ЭУ 290.00.00.РЭ.
Нормативные документы
Постановление Правительства Российской Федерации от 16 ноября 2020 г. № 1847 «Об утверждении перечня измерений, относящихся к сфере государственного регулирования обеспечения единства измерений» (в части п. 6.6 и п. 6.7);
Приказ Федерального агентства по техническому регулированию и метрологии от 11 мая 2022 г. № 1133 «Об утверждении государственной поверочной схемы для средств измерений объемного и массового расходов газа»;
Приказ Федерального агентства по техническому регулированию и метрологии от 6 декабря 2019 г. № 2900 «Об утверждении Государственной поверочной схемы для средств измерений абсолютного давления в диапазоне от 1-10’1 до 1-107 Па»;
Приказ Федерального агентства по техническому регулированию и метрологии от 19 ноября 2024 г. № 2712 «Об утверждении Государственной поверочной схемы для средств измерений температуры»;
ГОСТ 8.611-2013. Расход и количество газа. Методика (метод) измерений с помощью ультразвуковых преобразователей расхода;
ТУ 26.51.52-104-14145564-2024 «Расходомеры-счетчики ультразвуковые
ЭМИС-УЛЬТРА 290. Технические условия».











